ГОСТ Р ИСО 22407-2025 Материалы металлические. Испытание на усталость. Метод испытания на изгиб в осевой плоскости

Категории ГОСТ Р ИСО 22407-2025 по ОКС:
Статус документа:
принят, введён в действие 01.01.2026
Название на английском языке:
Metallic materials. Fatigue testing. Axial plane bending method
Дата актуализации информации по стандарту:
17.10.2025, в 15:18 (менее месяца назад)
Вид стандарта:
временно не известен
Дата начала действия ГОСТа:
2026-01-01
Число страниц:
20
Назначение ГОСТ Р ИСО 22407-2025:
не указано
Нормативные ссылки, связанные с ГОСТ Р ИСО 22407-2025:

Скачать ГОСТ Р ИСО 22407-2025 вы можете в следующих версиях:

В данный момент версий документа для скачивания не добавлено.

Мы стараемся пополнять базу документов еженедельно и из разных источников, в обозримом будущем версии для этого ГОСТа появятся.

Вы можете просмотреть online текст стандарта ГОСТ Р ИСО 22407-2025

Просмотреть текст ГОСТ Р ИСО 22407-2025

Текст стандарта

  • ГОСТ Р ИСО 22407-2025, страница 1 страница 1
  • ГОСТ Р ИСО 22407-2025, страница 2 страница 2
  • ГОСТ Р ИСО 22407-2025, страница 3 страница 3
  • ГОСТ Р ИСО 22407-2025, страница 4 страница 4
  • ГОСТ Р ИСО 22407-2025, страница 5 страница 5
  • ГОСТ Р ИСО 22407-2025, страница 6 страница 6
  • ГОСТ Р ИСО 22407-2025, страница 7 страница 7
  • ГОСТ Р ИСО 22407-2025, страница 8 страница 8
  • ГОСТ Р ИСО 22407-2025, страница 9 страница 9
  • ГОСТ Р ИСО 22407-2025, страница 10 страница 10
  • ГОСТ Р ИСО 22407-2025, страница 11 страница 11
  • ГОСТ Р ИСО 22407-2025, страница 12 страница 12
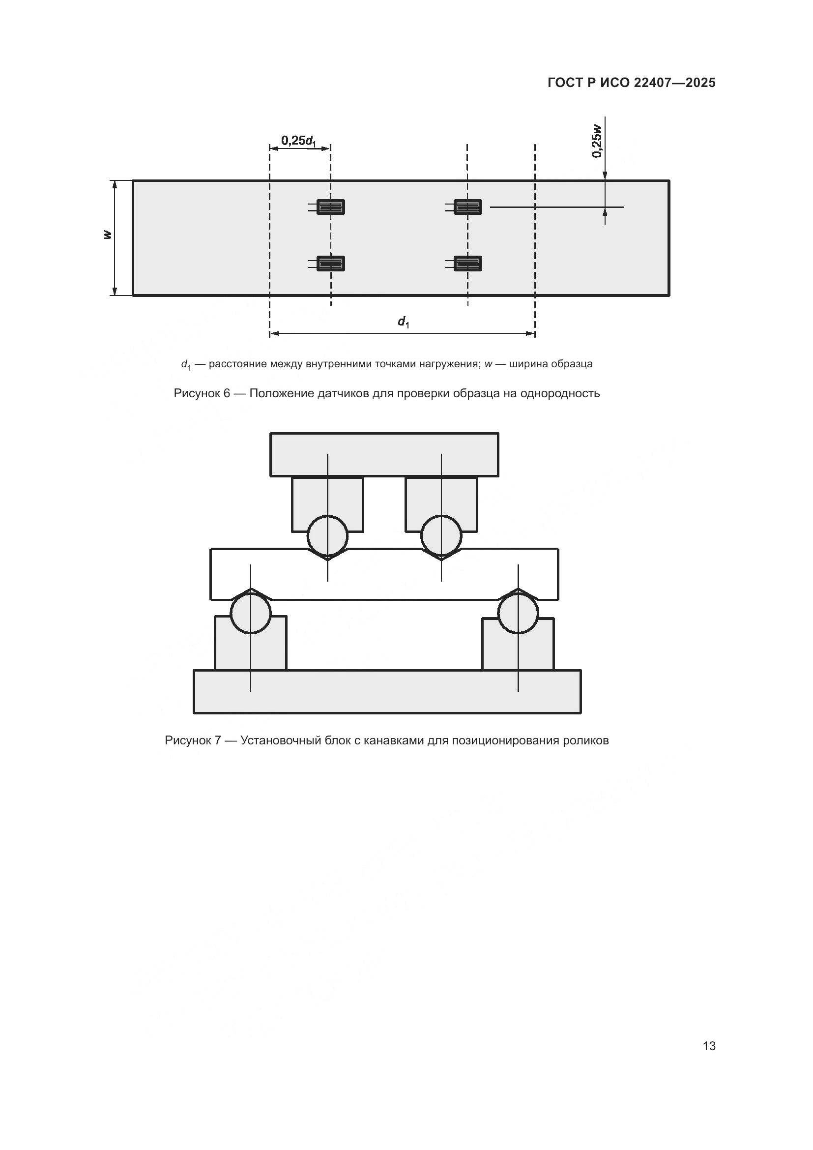
  • ГОСТ Р ИСО 22407-2025, страница 13 страница 13
  • ГОСТ Р ИСО 22407-2025, страница 14 страница 14
  • ГОСТ Р ИСО 22407-2025, страница 15 страница 15
  • ГОСТ Р ИСО 22407-2025, страница 16 страница 16
  • ГОСТ Р ИСО 22407-2025, страница 17 страница 17
  • ГОСТ Р ИСО 22407-2025, страница 18 страница 18
  • ГОСТ Р ИСО 22407-2025, страница 19 страница 19
  • ГОСТ Р ИСО 22407-2025, страница 20 страница 20