ГОСТ Р ИСО 22476-5-2017 Геотехнические исследования и испытания. Испытания полевые. Часть 5. Испытание гибким дилатометром

Категории ГОСТ Р ИСО 22476-5-2017 по ОКС:
Статус документа:
действует, введён в действие 01.01.2022
Название на английском языке:
Geotechnical investigation and testing. Field testing. Part 5. Flexible dilatometer test
Дата актуализации информации по стандарту:
30.10.2025, в 19:40 (менее 3 месяцев назад)
Вид стандарта:
временно не известен
Дата начала действия ГОСТа:
2022-01-01
Число страниц:
32
Назначение ГОСТ Р ИСО 22476-5-2017:
не указано

Скачать ГОСТ Р ИСО 22476-5-2017 вы можете в следующих версиях:

Тип файла:
Дата добавления:
Загрузок:
Размер:
Тип файла:
PDF с изображениями
Добавлен:
20/11/2025 14:27
Скачиваний:
33
Размер файла:
2.12 Мб
  • ГОСТ Р ИСО 22476-5-2017, страница 1 страница 1
  • ГОСТ Р ИСО 22476-5-2017, страница 2 страница 2
  • ГОСТ Р ИСО 22476-5-2017, страница 3 страница 3
  • ГОСТ Р ИСО 22476-5-2017, страница 4 страница 4
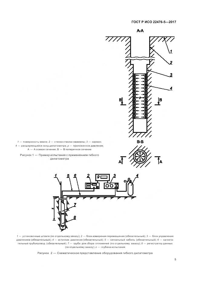
  • ГОСТ Р ИСО 22476-5-2017, страница 5 страница 5
  • ГОСТ Р ИСО 22476-5-2017, страница 6 страница 6
  • ГОСТ Р ИСО 22476-5-2017, страница 7 страница 7
  • ГОСТ Р ИСО 22476-5-2017, страница 8 страница 8
  • ГОСТ Р ИСО 22476-5-2017, страница 9 страница 9
  • ГОСТ Р ИСО 22476-5-2017, страница 10 страница 10
  • ГОСТ Р ИСО 22476-5-2017, страница 11 страница 11
  • ГОСТ Р ИСО 22476-5-2017, страница 12 страница 12
  • ГОСТ Р ИСО 22476-5-2017, страница 13 страница 13
  • ГОСТ Р ИСО 22476-5-2017, страница 14 страница 14
  • ГОСТ Р ИСО 22476-5-2017, страница 15 страница 15
  • ГОСТ Р ИСО 22476-5-2017, страница 16 страница 16
  • ГОСТ Р ИСО 22476-5-2017, страница 17 страница 17
  • ГОСТ Р ИСО 22476-5-2017, страница 18 страница 18
  • ГОСТ Р ИСО 22476-5-2017, страница 19 страница 19
  • ГОСТ Р ИСО 22476-5-2017, страница 20 страница 20
  • ГОСТ Р ИСО 22476-5-2017, страница 21 страница 21
  • ГОСТ Р ИСО 22476-5-2017, страница 22 страница 22
  • ГОСТ Р ИСО 22476-5-2017, страница 23 страница 23
  • ГОСТ Р ИСО 22476-5-2017, страница 24 страница 24
  • ГОСТ Р ИСО 22476-5-2017, страница 25 страница 25
  • ГОСТ Р ИСО 22476-5-2017, страница 26 страница 26
  • ГОСТ Р ИСО 22476-5-2017, страница 27 страница 27
  • ГОСТ Р ИСО 22476-5-2017, страница 28 страница 28
  • ГОСТ Р ИСО 22476-5-2017, страница 29 страница 29
  • ГОСТ Р ИСО 22476-5-2017, страница 30 страница 30
  • ГОСТ Р ИСО 22476-5-2017, страница 31 страница 31
  • ГОСТ Р ИСО 22476-5-2017, страница 32 страница 32