ГОСТ 27108-2016 Конструкции каркаса железобетонные сборные для многоэтажных зданий с безбалочными перекрытиями. Технические условия

Категории ГОСТ 27108-2016 по ОКС:
Статус документа:
действует, введён в действие 01.06.2017
Название на английском языке:
Reinforced concrete framework structures for multistory industrial buildings with girderless floors. Specifications
Дата актуализации информации по стандарту:
28.10.2025, в 14:57 (в течение последней недели)
Вид стандарта:
Стандарты на продукцию (услуги)
Дата начала действия ГОСТа:
2017-06-01
Дата последнего издания документа:
2017-01-09
Число страниц:
29
Назначение ГОСТ 27108-2016:
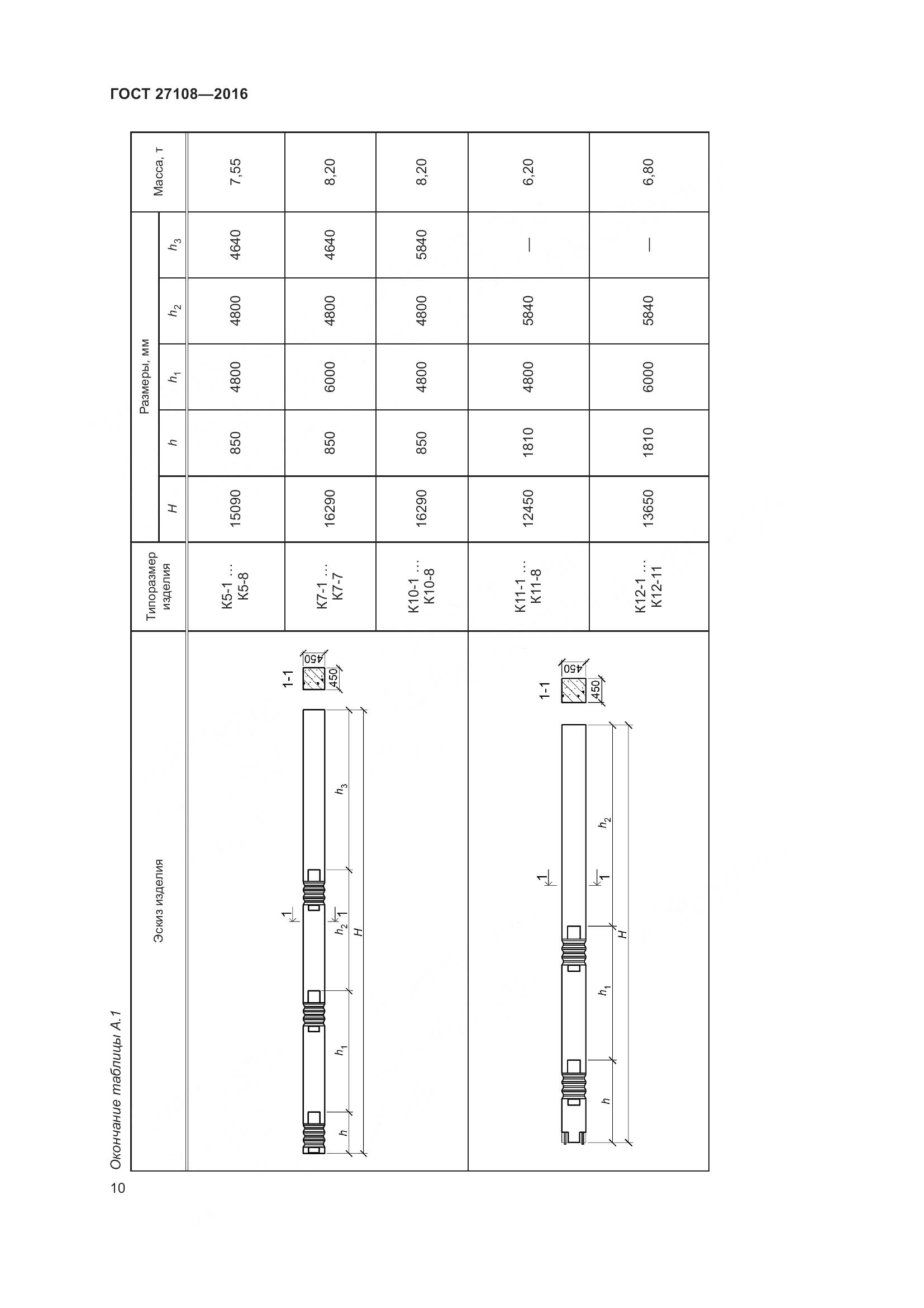
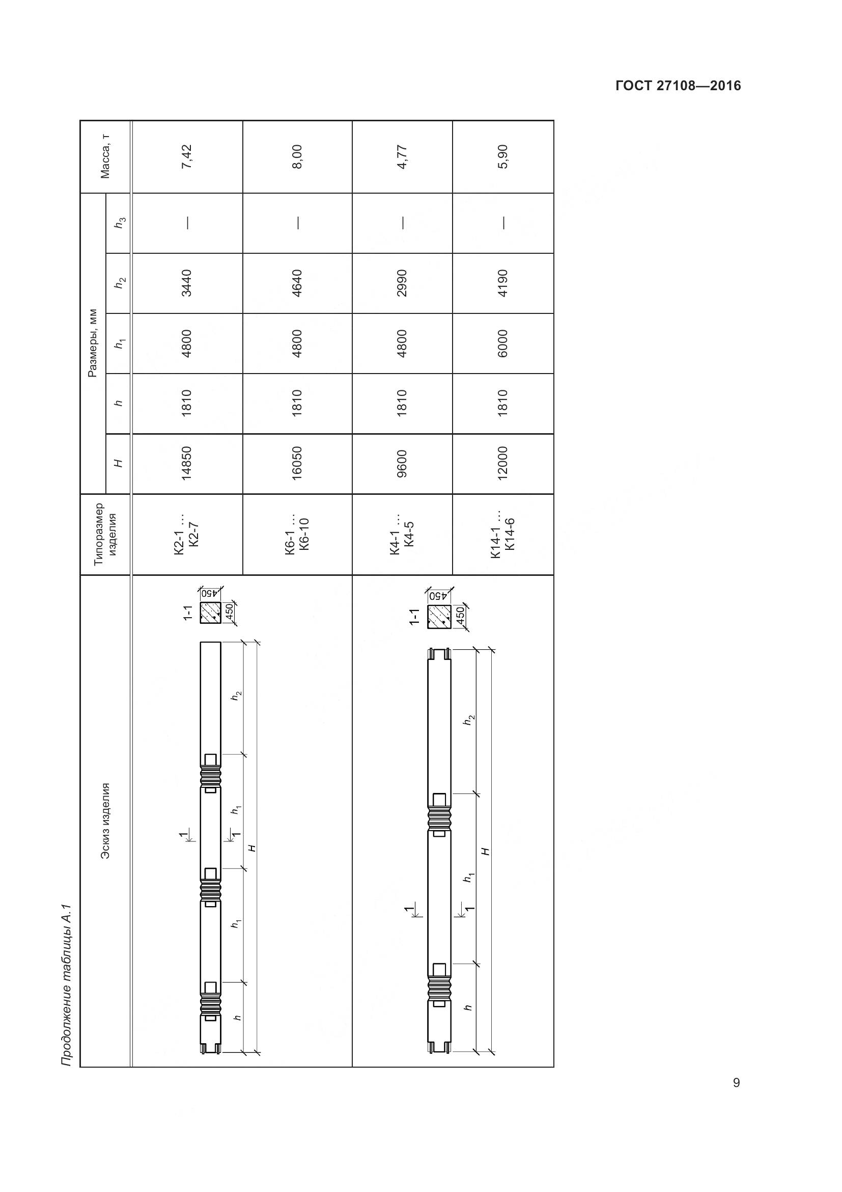
Настоящий стандарт распространяется на сборные железобетонные конструкции каркаса зданий с безбалочными перекрытиями (далее - конструкции), изготовляемые из тяжелого бетона, для многоэтажных производственных и складских зданий промышленных и сельскохозяйственных предприятий с сетками колонн 6х6м и 9х6м, с высотой этажа 4,8 и 6,0м
Документ разработан орг-ей:
Федеральное агентство по техническому регулированию и метрологии (Росстандарт)
Документ принят орг-ей:
Межгосударственный Совет по стандартизации метрологии и сертификации, протокол №92-П
Ключевые слова документа:
безбалочное перекрытие, капитель, колонна, межколонная плита, пролетная плита, сборный железобетонный каркас, технические условия

Скачать ГОСТ 27108-2016 вы можете в следующих версиях:

В данный момент версий документа для скачивания не добавлено.

Мы стараемся пополнять базу документов еженедельно и из разных источников, в обозримом будущем версии для этого ГОСТа появятся.

Вы можете просмотреть online текст стандарта ГОСТ 27108-2016

Просмотреть текст ГОСТ 27108-2016

Текст стандарта

  • ГОСТ 27108-2016, страница 1 страница 1
  • ГОСТ 27108-2016, страница 2 страница 2
  • ГОСТ 27108-2016, страница 3 страница 3
  • ГОСТ 27108-2016, страница 4 страница 4
  • ГОСТ 27108-2016, страница 5 страница 5
  • ГОСТ 27108-2016, страница 6 страница 6
  • ГОСТ 27108-2016, страница 7 страница 7
  • ГОСТ 27108-2016, страница 8 страница 8
  • ГОСТ 27108-2016, страница 9 страница 9
  • ГОСТ 27108-2016, страница 10 страница 10
  • ГОСТ 27108-2016, страница 11 страница 11
  • ГОСТ 27108-2016, страница 12 страница 12
  • ГОСТ 27108-2016, страница 13 страница 13
  • ГОСТ 27108-2016, страница 14 страница 14
  • ГОСТ 27108-2016, страница 15 страница 15
  • ГОСТ 27108-2016, страница 16 страница 16
  • ГОСТ 27108-2016, страница 17 страница 17
  • ГОСТ 27108-2016, страница 18 страница 18
  • ГОСТ 27108-2016, страница 19 страница 19
  • ГОСТ 27108-2016, страница 20 страница 20
  • ГОСТ 27108-2016, страница 21 страница 21
  • ГОСТ 27108-2016, страница 22 страница 22
  • ГОСТ 27108-2016, страница 23 страница 23
  • ГОСТ 27108-2016, страница 24 страница 24
  • ГОСТ 27108-2016, страница 25 страница 25
  • ГОСТ 27108-2016, страница 26 страница 26
  • ГОСТ 27108-2016, страница 27 страница 27
  • ГОСТ 27108-2016, страница 28 страница 28
  • ГОСТ 27108-2016, страница 29 страница 29