ГОСТ 34277-2017 Материалы и системы для защиты и ремонта бетонных конструкций. Требования к анкерующим составам и адгезионно-силовым креплениям элементов усиления

Категории ГОСТ 34277-2017 по ОКС:
Статус документа:
действует, введён в действие 01.03.2018
Название на английском языке:
Materials and systems for the protection and repair of concrete structures. Requirements for anchoring products and bonding of reinforcing bars
Дата актуализации информации по стандарту:
30.10.2025, в 12:01 (менее 3 месяцев назад)
Вид стандарта:
Стандарты на продукцию (услуги)
Дата начала действия ГОСТа:
2018-03-01
Дата последнего издания документа:
2017-11-07
Число страниц:
37
Назначение ГОСТ 34277-2017:
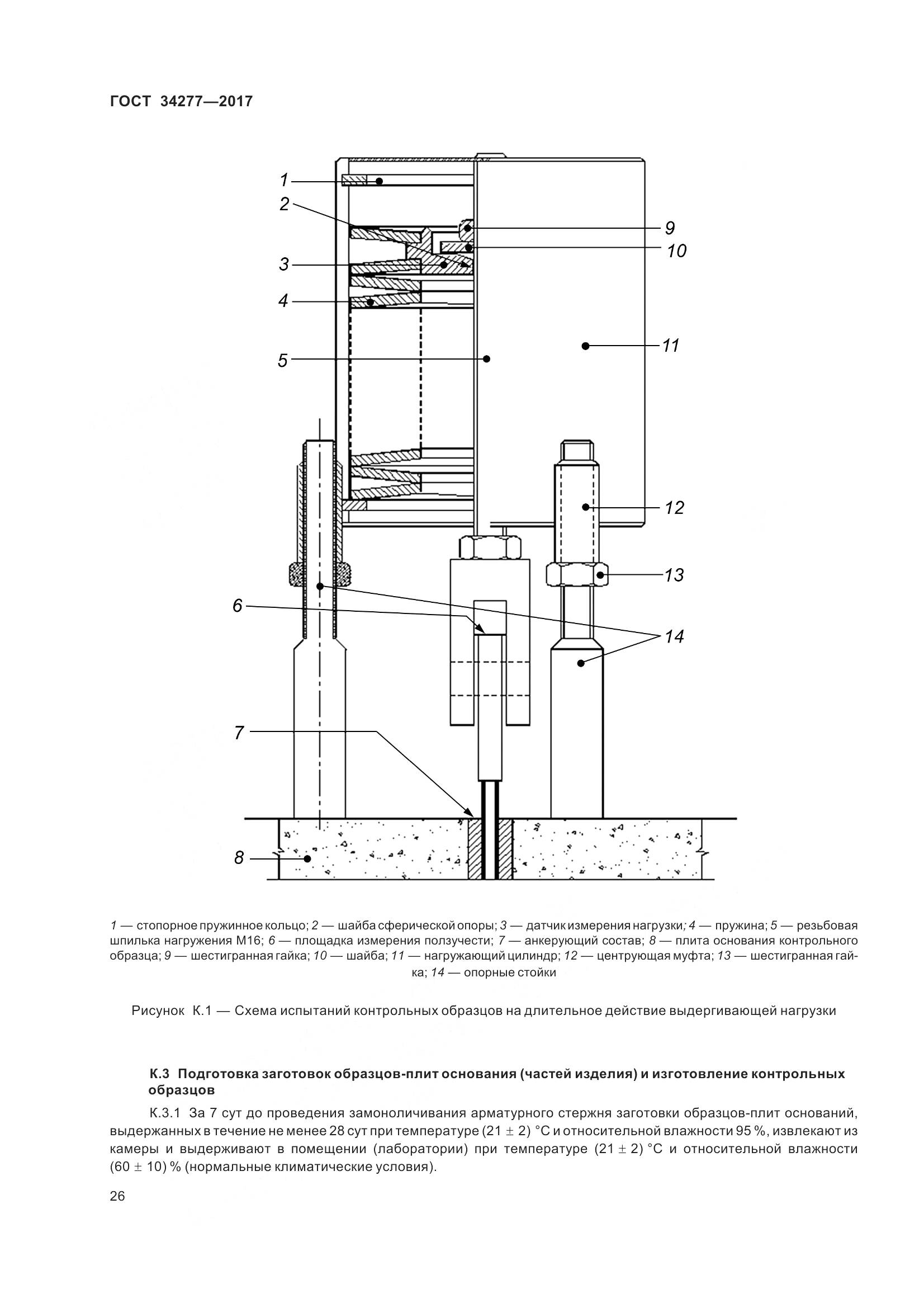
Настоящий стандарт устанавливает перечень минимально необходимых показателей свойств анкерующих составов, показателей эксплуатационных качеств адгезионно-силовых креплений (конструкционных анкерных) элементов усиления бетонных и железобетонных конструкций (далее бетонная конструкция или конструкция), а также требования к значениям и методам определения этих показателей при восстановлении или повышении их несущей способности методом добавления стальной арматуры, закрепляемой в заранее сформированном или пробуренном канале (отверстии). Стандарт распространяется на анкерующие составы на цементном, модифицированным полимером цементно-полимерном и полимерном вяжущих, анкерующие полимерцементные составы, а также на адгезионно-силовые анкерные крепления стальной арматуры применительно к бетонным конструкциям, открытым атмосферным воздействиям, а также закрытым - подземным или подводным, как находящимся в эксплуатации, так и вновь возводимым. Стандарт не распространяется на особые случаи создания креплений элементов усиления конструкций в экстремальных условиях окружающей среды (например, при особо низкой температуре) и в особых обстоятельствах, таких как непрогнозируемые воздействия (например, транспорта или льда) или нагрузки вследствие землетрясения, на которые распространяются требования других нормативных документов. Настоящий стандарт устанавливает требования к составам и методам контроля их показателей на образцах для получения сопоставимых результатов при испытаниях в лабораторных условиях
Документ разработан орг-ей:
Федеральное агентство по техническому регулированию и метрологии (Росстандарт)
Документ принят орг-ей:
Межгосударственный Совет по стандартизации метрологии и сертификации, протокол №103-П
Ключевые слова документа:
адгезионно-силовое крепление, анкерующий состав, восстановление и усиление, железобетонная конструкция, жизнеспособность, материалы и системы, методы испытаний, принципы и методы ремонта, ремонт, эксплуатационные качества

Скачать ГОСТ 34277-2017 вы можете в следующих версиях:

Тип файла:
Дата добавления:
Загрузок:
Размер:
Тип файла:
PDF с изображениями
Добавлен:
20/11/2025 14:30
Скачиваний:
11
Размер файла:
11.07 Мб
  • ГОСТ 34277-2017, страница 1 страница 1
  • ГОСТ 34277-2017, страница 2 страница 2
  • ГОСТ 34277-2017, страница 3 страница 3
  • ГОСТ 34277-2017, страница 4 страница 4
  • ГОСТ 34277-2017, страница 5 страница 5
  • ГОСТ 34277-2017, страница 6 страница 6
  • ГОСТ 34277-2017, страница 7 страница 7
  • ГОСТ 34277-2017, страница 8 страница 8
  • ГОСТ 34277-2017, страница 9 страница 9
  • ГОСТ 34277-2017, страница 10 страница 10
  • ГОСТ 34277-2017, страница 11 страница 11
  • ГОСТ 34277-2017, страница 12 страница 12
  • ГОСТ 34277-2017, страница 13 страница 13
  • ГОСТ 34277-2017, страница 14 страница 14
  • ГОСТ 34277-2017, страница 15 страница 15
  • ГОСТ 34277-2017, страница 16 страница 16
  • ГОСТ 34277-2017, страница 17 страница 17
  • ГОСТ 34277-2017, страница 18 страница 18
  • ГОСТ 34277-2017, страница 19 страница 19
  • ГОСТ 34277-2017, страница 20 страница 20
  • ГОСТ 34277-2017, страница 21 страница 21
  • ГОСТ 34277-2017, страница 22 страница 22
  • ГОСТ 34277-2017, страница 23 страница 23
  • ГОСТ 34277-2017, страница 24 страница 24
  • ГОСТ 34277-2017, страница 25 страница 25
  • ГОСТ 34277-2017, страница 26 страница 26
  • ГОСТ 34277-2017, страница 27 страница 27
  • ГОСТ 34277-2017, страница 28 страница 28
  • ГОСТ 34277-2017, страница 29 страница 29
  • ГОСТ 34277-2017, страница 30 страница 30
  • ГОСТ 34277-2017, страница 31 страница 31
  • ГОСТ 34277-2017, страница 32 страница 32
  • ГОСТ 34277-2017, страница 33 страница 33
  • ГОСТ 34277-2017, страница 34 страница 34
  • ГОСТ 34277-2017, страница 35 страница 35
  • ГОСТ 34277-2017, страница 36 страница 36
  • ГОСТ 34277-2017, страница 37 страница 37