ГОСТ Р 54826-2011 Котлы газовые центрального отопления. Котлы типа «С» с номинальной тепловой мощностью не более 70 кВт

Категории ГОСТ Р 54826-2011 по ОКС:
Статус документа:
действует, введён в действие 01.01.2013
Название на английском языке:
Gas-fired central heating boilers. Type C boilers of nominal heat input not exceeding 70 kW
Дата актуализации информации по стандарту:
20.10.2025, в 13:29 (менее 3 месяцев назад)
Вид стандарта:
временно не известен
Дата начала действия ГОСТа:
2013-01-01
Коды документа ГОСТ Р 54826-2011:
Код ОКП:
493112
Число страниц:
110
Назначение ГОСТ Р 54826-2011:
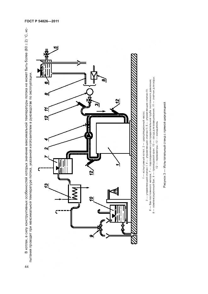
Настоящий стандарт включает требования и методы испытаний в части изготовления, безопасности, пригодности к использованию по назначению, и рационального использования энергии, а также - классификацию и маркировку газовых котлов центрального отопления, которые оснащены атмосферными горелками, атмосферными дутьевыми горелками или горелками с предварительным смешением. Настоящий стандарт распространяется на котлы типа С в соответствии с 4.2: - котлы типов С1, С3 и С5, включая дымоходы для подвода воздуха и отвода продуктов сгорания и их терминалы; - котлы типов С2 и С4, включая их присоединительные дымоходы, но без системы совместно используемых дымоходов (эта система совместно используемых воздуховодов является частью здания); - котлы типа С6 без каких-либо дымоходов (эти дымоходы утверждают и реализуют на рынке отдельно); - котлы типа С7 до стабилизатора тяги/патрубка для подвода воздуха, но без вспомогательной дымовой трубы; - котлы типа С8 со своими присоединительным дымоходами, но без дымовой трубы, которая является частью здания, а также котлы: - которые оснащены атмосферными горелками, атмосферными горелками с вентиляторной подачей воздуха для горения или отвода продуктов сгорания, или горелки, полностью работающие на предварительно подготовленной смеси; - которые используют один или более горючих газов, соответствующих трем семействам газов и давлениям; - для которых номинальная тепловая мощность (исходя из низшей теплоты сгорания) не более 70 кВт; - для которых температура воды не более 95 °C; - для которых максимальное рабочее давление со стороны воды не более 0,6 МПа. Настоящий стандарт не распространяется на: - котлы типов С41, С51, С61, С71 и С81; - котлы, предназначенные для установки на открытом воздухе; - котлы конденсационного типа; - котлы комбинированного типа, например, для центрального отопления и бытового горячего водоснабжения
Ключевые слова документа:
безопасность, герметичность, горелка, испытание, классификация, котел центрального отопления, коэффициент полезного действия, тепловая мощность, теплопроизводительность, термостат, требование к конструкции

Скачать ГОСТ Р 54826-2011 вы можете в следующих версиях:

Тип файла:
Дата добавления:
Загрузок:
Размер:
Тип файла:
PDF с изображениями
Добавлен:
21/11/2025 10:16
Скачиваний:
16
Размер файла:
9.64 Мб
  • ГОСТ Р 54826-2011, страница 1 страница 1
  • ГОСТ Р 54826-2011, страница 2 страница 2
  • ГОСТ Р 54826-2011, страница 3 страница 3
  • ГОСТ Р 54826-2011, страница 4 страница 4
  • ГОСТ Р 54826-2011, страница 5 страница 5
  • ГОСТ Р 54826-2011, страница 6 страница 6
  • ГОСТ Р 54826-2011, страница 7 страница 7
  • ГОСТ Р 54826-2011, страница 8 страница 8
  • ГОСТ Р 54826-2011, страница 9 страница 9
  • ГОСТ Р 54826-2011, страница 10 страница 10
  • ГОСТ Р 54826-2011, страница 11 страница 11
  • ГОСТ Р 54826-2011, страница 12 страница 12
  • ГОСТ Р 54826-2011, страница 13 страница 13
  • ГОСТ Р 54826-2011, страница 14 страница 14
  • ГОСТ Р 54826-2011, страница 15 страница 15
  • ГОСТ Р 54826-2011, страница 16 страница 16
  • ГОСТ Р 54826-2011, страница 17 страница 17
  • ГОСТ Р 54826-2011, страница 18 страница 18
  • ГОСТ Р 54826-2011, страница 19 страница 19
  • ГОСТ Р 54826-2011, страница 20 страница 20
  • ГОСТ Р 54826-2011, страница 21 страница 21
  • ГОСТ Р 54826-2011, страница 22 страница 22
  • ГОСТ Р 54826-2011, страница 23 страница 23
  • ГОСТ Р 54826-2011, страница 24 страница 24
  • ГОСТ Р 54826-2011, страница 25 страница 25
  • ГОСТ Р 54826-2011, страница 26 страница 26
  • ГОСТ Р 54826-2011, страница 27 страница 27
  • ГОСТ Р 54826-2011, страница 28 страница 28
  • ГОСТ Р 54826-2011, страница 29 страница 29
  • ГОСТ Р 54826-2011, страница 30 страница 30
  • ГОСТ Р 54826-2011, страница 31 страница 31
  • ГОСТ Р 54826-2011, страница 32 страница 32
  • ГОСТ Р 54826-2011, страница 33 страница 33
  • ГОСТ Р 54826-2011, страница 34 страница 34
  • ГОСТ Р 54826-2011, страница 35 страница 35
  • ГОСТ Р 54826-2011, страница 36 страница 36
  • ГОСТ Р 54826-2011, страница 37 страница 37
  • ГОСТ Р 54826-2011, страница 38 страница 38
  • ГОСТ Р 54826-2011, страница 39 страница 39
  • ГОСТ Р 54826-2011, страница 40 страница 40
  • ГОСТ Р 54826-2011, страница 41 страница 41
  • ГОСТ Р 54826-2011, страница 42 страница 42
  • ГОСТ Р 54826-2011, страница 43 страница 43
  • ГОСТ Р 54826-2011, страница 44 страница 44
  • ГОСТ Р 54826-2011, страница 45 страница 45
  • ГОСТ Р 54826-2011, страница 46 страница 46
  • ГОСТ Р 54826-2011, страница 47 страница 47
  • ГОСТ Р 54826-2011, страница 48 страница 48
  • ГОСТ Р 54826-2011, страница 49 страница 49
  • ГОСТ Р 54826-2011, страница 50 страница 50
  • ГОСТ Р 54826-2011, страница 51 страница 51
  • ГОСТ Р 54826-2011, страница 52 страница 52
  • ГОСТ Р 54826-2011, страница 53 страница 53
  • ГОСТ Р 54826-2011, страница 54 страница 54
  • ГОСТ Р 54826-2011, страница 55 страница 55
  • ГОСТ Р 54826-2011, страница 56 страница 56
  • ГОСТ Р 54826-2011, страница 57 страница 57
  • ГОСТ Р 54826-2011, страница 58 страница 58
  • ГОСТ Р 54826-2011, страница 59 страница 59
  • ГОСТ Р 54826-2011, страница 60 страница 60
  • ГОСТ Р 54826-2011, страница 61 страница 61
  • ГОСТ Р 54826-2011, страница 62 страница 62
  • ГОСТ Р 54826-2011, страница 63 страница 63
  • ГОСТ Р 54826-2011, страница 64 страница 64
  • ГОСТ Р 54826-2011, страница 65 страница 65
  • ГОСТ Р 54826-2011, страница 66 страница 66
  • ГОСТ Р 54826-2011, страница 67 страница 67
  • ГОСТ Р 54826-2011, страница 68 страница 68
  • ГОСТ Р 54826-2011, страница 69 страница 69
  • ГОСТ Р 54826-2011, страница 70 страница 70
  • ГОСТ Р 54826-2011, страница 71 страница 71
  • ГОСТ Р 54826-2011, страница 72 страница 72
  • ГОСТ Р 54826-2011, страница 73 страница 73
  • ГОСТ Р 54826-2011, страница 74 страница 74
  • ГОСТ Р 54826-2011, страница 75 страница 75
  • ГОСТ Р 54826-2011, страница 76 страница 76
  • ГОСТ Р 54826-2011, страница 77 страница 77
  • ГОСТ Р 54826-2011, страница 78 страница 78
  • ГОСТ Р 54826-2011, страница 79 страница 79
  • ГОСТ Р 54826-2011, страница 80 страница 80
  • ГОСТ Р 54826-2011, страница 81 страница 81
  • ГОСТ Р 54826-2011, страница 82 страница 82
  • ГОСТ Р 54826-2011, страница 83 страница 83
  • ГОСТ Р 54826-2011, страница 84 страница 84
  • ГОСТ Р 54826-2011, страница 85 страница 85
  • ГОСТ Р 54826-2011, страница 86 страница 86
  • ГОСТ Р 54826-2011, страница 87 страница 87
  • ГОСТ Р 54826-2011, страница 88 страница 88
  • ГОСТ Р 54826-2011, страница 89 страница 89
  • ГОСТ Р 54826-2011, страница 90 страница 90
  • ГОСТ Р 54826-2011, страница 91 страница 91
  • ГОСТ Р 54826-2011, страница 92 страница 92
  • ГОСТ Р 54826-2011, страница 93 страница 93
  • ГОСТ Р 54826-2011, страница 94 страница 94
  • ГОСТ Р 54826-2011, страница 95 страница 95
  • ГОСТ Р 54826-2011, страница 96 страница 96
  • ГОСТ Р 54826-2011, страница 97 страница 97
  • ГОСТ Р 54826-2011, страница 98 страница 98
  • ГОСТ Р 54826-2011, страница 99 страница 99
  • ГОСТ Р 54826-2011, страница 100 страница 100
  • ГОСТ Р 54826-2011, страница 101 страница 101
  • ГОСТ Р 54826-2011, страница 102 страница 102
  • ГОСТ Р 54826-2011, страница 103 страница 103
  • ГОСТ Р 54826-2011, страница 104 страница 104
  • ГОСТ Р 54826-2011, страница 105 страница 105
  • ГОСТ Р 54826-2011, страница 106 страница 106
  • ГОСТ Р 54826-2011, страница 107 страница 107
  • ГОСТ Р 54826-2011, страница 108 страница 108
  • ГОСТ Р 54826-2011, страница 109 страница 109
  • ГОСТ Р 54826-2011, страница 110 страница 110