ГОСТ Р 55346-2012 Системы промышленной автоматизации и интеграция. Представление и обмен производственными данными. Базовая модель инженерного проектирования систем

Категории ГОСТ Р 55346-2012 по ОКС:
Статус документа:
действует, введён в действие 01.01.2014
Название на английском языке:
Industrial automation systems and integration. Product data representation and exchange. Reference model for systems engineering
Дата актуализации информации по стандарту:
23.10.2025, в 15:28 (менее месяца назад)
Вид стандарта:
временно не известен
Дата начала действия ГОСТа:
2014-01-01
Число страниц:
402
Назначение ГОСТ Р 55346-2012:
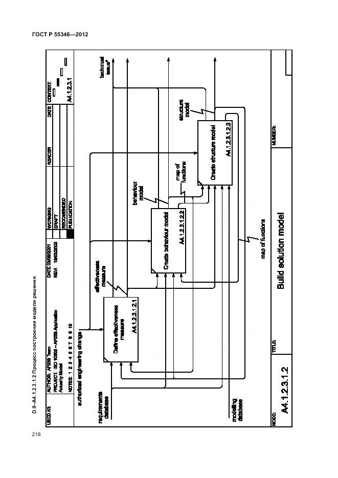
Настоящий стандарт устанавливает область применения и информационные требования к проектированию систем. В настоящес стандарте рассматриваются: · технические аспекты проектирования систем, определяющие функциональную и физическую архитектуру (что рассматриваемая система делает, как делает, и насколько хорошо она это делает); · техническое управление проектированием: разработка календарного плана, оформление документов, сопутствующее проектирование, процедуры проверки достоверности, процедуры верификации; · управление проектом: управление отслеживаемостью и конфигурацией системы, анализ компромиссных решений; · промышленное управление (управление кооперацией промышленных партнеров); · определение других систем, с которыми взаимодействует рассматриваемая система; · контекст системы в каждой фазе ее жизненного цикла; · поддержка методик иерархического расделения и объектно-ориентированного моделирования; · функциональные и нефункциональные требования систем в каждой фазе жизненного цикла системы; · определение статического и динамического поведения систем; · фаза жизненного цикла проектирования систем; · данные описания систем; · данные спецификаций требований систем; · данные, определяющие статическое поведение систем в терминах функций и потоков между функциями; · данные, определяющие динамическое поведение систем; · данные, определяющие физическую архитектуру; · данные, определяющие разделение систем; · данные, определяющие верификацию и проверку достоверности систем; · данные, определяющие проектирование и промышленное управление; - данные, определяющие управление конфигурацией.
Ключевые слова документа:
автоматизированные промышленные системы, жизненный цикл систем, интеграция, управление производством
Нормативные ссылки, связанные с ГОСТ Р 55346-2012:

Скачать ГОСТ Р 55346-2012 вы можете в следующих версиях:

Дата добавления:
Тип файла:
Загрузок:
Размер:
-
23/01/2016 18:37
PDF с изображениями
0
-

Текст стандарта

  • ГОСТ Р 55346-2012, страница 1 страница 1
  • ГОСТ Р 55346-2012, страница 2 страница 2
  • ГОСТ Р 55346-2012, страница 3 страница 3
  • ГОСТ Р 55346-2012, страница 4 страница 4
  • ГОСТ Р 55346-2012, страница 5 страница 5
  • ГОСТ Р 55346-2012, страница 6 страница 6
  • ГОСТ Р 55346-2012, страница 7 страница 7
  • ГОСТ Р 55346-2012, страница 8 страница 8
  • ГОСТ Р 55346-2012, страница 9 страница 9
  • ГОСТ Р 55346-2012, страница 10 страница 10
  • ГОСТ Р 55346-2012, страница 11 страница 11
  • ГОСТ Р 55346-2012, страница 12 страница 12
  • ГОСТ Р 55346-2012, страница 13 страница 13
  • ГОСТ Р 55346-2012, страница 14 страница 14
  • ГОСТ Р 55346-2012, страница 15 страница 15
  • ГОСТ Р 55346-2012, страница 16 страница 16
  • ГОСТ Р 55346-2012, страница 17 страница 17
  • ГОСТ Р 55346-2012, страница 18 страница 18
  • ГОСТ Р 55346-2012, страница 19 страница 19
  • ГОСТ Р 55346-2012, страница 20 страница 20
  • ГОСТ Р 55346-2012, страница 21 страница 21
  • ГОСТ Р 55346-2012, страница 22 страница 22
  • ГОСТ Р 55346-2012, страница 23 страница 23
  • ГОСТ Р 55346-2012, страница 24 страница 24
  • ГОСТ Р 55346-2012, страница 25 страница 25
  • ГОСТ Р 55346-2012, страница 26 страница 26
  • ГОСТ Р 55346-2012, страница 27 страница 27
  • ГОСТ Р 55346-2012, страница 28 страница 28
  • ГОСТ Р 55346-2012, страница 29 страница 29
  • ГОСТ Р 55346-2012, страница 30 страница 30
  • ГОСТ Р 55346-2012, страница 31 страница 31
  • ГОСТ Р 55346-2012, страница 32 страница 32
  • ГОСТ Р 55346-2012, страница 33 страница 33
  • ГОСТ Р 55346-2012, страница 34 страница 34
  • ГОСТ Р 55346-2012, страница 35 страница 35
  • ГОСТ Р 55346-2012, страница 36 страница 36
  • ГОСТ Р 55346-2012, страница 37 страница 37
  • ГОСТ Р 55346-2012, страница 38 страница 38
  • ГОСТ Р 55346-2012, страница 39 страница 39
  • ГОСТ Р 55346-2012, страница 40 страница 40
  • ГОСТ Р 55346-2012, страница 41 страница 41
  • ГОСТ Р 55346-2012, страница 42 страница 42
  • ГОСТ Р 55346-2012, страница 43 страница 43
  • ГОСТ Р 55346-2012, страница 44 страница 44
  • ГОСТ Р 55346-2012, страница 45 страница 45
  • ГОСТ Р 55346-2012, страница 46 страница 46
  • ГОСТ Р 55346-2012, страница 47 страница 47
  • ГОСТ Р 55346-2012, страница 48 страница 48
  • ГОСТ Р 55346-2012, страница 49 страница 49
  • ГОСТ Р 55346-2012, страница 50 страница 50
  • ГОСТ Р 55346-2012, страница 51 страница 51
  • ГОСТ Р 55346-2012, страница 52 страница 52
  • ГОСТ Р 55346-2012, страница 53 страница 53
  • ГОСТ Р 55346-2012, страница 54 страница 54
  • ГОСТ Р 55346-2012, страница 55 страница 55
  • ГОСТ Р 55346-2012, страница 56 страница 56
  • ГОСТ Р 55346-2012, страница 57 страница 57
  • ГОСТ Р 55346-2012, страница 58 страница 58
  • ГОСТ Р 55346-2012, страница 59 страница 59
  • ГОСТ Р 55346-2012, страница 60 страница 60
  • ГОСТ Р 55346-2012, страница 61 страница 61
  • ГОСТ Р 55346-2012, страница 62 страница 62
  • ГОСТ Р 55346-2012, страница 63 страница 63
  • ГОСТ Р 55346-2012, страница 64 страница 64
  • ГОСТ Р 55346-2012, страница 65 страница 65
  • ГОСТ Р 55346-2012, страница 66 страница 66
  • ГОСТ Р 55346-2012, страница 67 страница 67
  • ГОСТ Р 55346-2012, страница 68 страница 68
  • ГОСТ Р 55346-2012, страница 69 страница 69
  • ГОСТ Р 55346-2012, страница 70 страница 70
  • ГОСТ Р 55346-2012, страница 71 страница 71
  • ГОСТ Р 55346-2012, страница 72 страница 72
  • ГОСТ Р 55346-2012, страница 73 страница 73
  • ГОСТ Р 55346-2012, страница 74 страница 74
  • ГОСТ Р 55346-2012, страница 75 страница 75
  • ГОСТ Р 55346-2012, страница 76 страница 76
  • ГОСТ Р 55346-2012, страница 77 страница 77
  • ГОСТ Р 55346-2012, страница 78 страница 78
  • ГОСТ Р 55346-2012, страница 79 страница 79
  • ГОСТ Р 55346-2012, страница 80 страница 80
  • ГОСТ Р 55346-2012, страница 81 страница 81
  • ГОСТ Р 55346-2012, страница 82 страница 82
  • ГОСТ Р 55346-2012, страница 83 страница 83
  • ГОСТ Р 55346-2012, страница 84 страница 84
  • ГОСТ Р 55346-2012, страница 85 страница 85
  • ГОСТ Р 55346-2012, страница 86 страница 86
  • ГОСТ Р 55346-2012, страница 87 страница 87
  • ГОСТ Р 55346-2012, страница 88 страница 88
  • ГОСТ Р 55346-2012, страница 89 страница 89
  • ГОСТ Р 55346-2012, страница 90 страница 90
  • ГОСТ Р 55346-2012, страница 91 страница 91
  • ГОСТ Р 55346-2012, страница 92 страница 92
  • ГОСТ Р 55346-2012, страница 93 страница 93
  • ГОСТ Р 55346-2012, страница 94 страница 94
  • ГОСТ Р 55346-2012, страница 95 страница 95
  • ГОСТ Р 55346-2012, страница 96 страница 96
  • ГОСТ Р 55346-2012, страница 97 страница 97
  • ГОСТ Р 55346-2012, страница 98 страница 98
  • ГОСТ Р 55346-2012, страница 99 страница 99
  • ГОСТ Р 55346-2012, страница 100 страница 100
  • ГОСТ Р 55346-2012, страница 101 страница 101
  • ГОСТ Р 55346-2012, страница 102 страница 102
  • ГОСТ Р 55346-2012, страница 103 страница 103
  • ГОСТ Р 55346-2012, страница 104 страница 104
  • ГОСТ Р 55346-2012, страница 105 страница 105
  • ГОСТ Р 55346-2012, страница 106 страница 106
  • ГОСТ Р 55346-2012, страница 107 страница 107
  • ГОСТ Р 55346-2012, страница 108 страница 108
  • ГОСТ Р 55346-2012, страница 109 страница 109
  • ГОСТ Р 55346-2012, страница 110 страница 110
  • ГОСТ Р 55346-2012, страница 111 страница 111
  • ГОСТ Р 55346-2012, страница 112 страница 112
  • ГОСТ Р 55346-2012, страница 113 страница 113
  • ГОСТ Р 55346-2012, страница 114 страница 114
  • ГОСТ Р 55346-2012, страница 115 страница 115
  • ГОСТ Р 55346-2012, страница 116 страница 116
  • ГОСТ Р 55346-2012, страница 117 страница 117
  • ГОСТ Р 55346-2012, страница 118 страница 118
  • ГОСТ Р 55346-2012, страница 119 страница 119
  • ГОСТ Р 55346-2012, страница 120 страница 120
  • ГОСТ Р 55346-2012, страница 121 страница 121
  • ГОСТ Р 55346-2012, страница 122 страница 122
  • ГОСТ Р 55346-2012, страница 123 страница 123
  • ГОСТ Р 55346-2012, страница 124 страница 124
  • ГОСТ Р 55346-2012, страница 125 страница 125
  • ГОСТ Р 55346-2012, страница 126 страница 126
  • ГОСТ Р 55346-2012, страница 127 страница 127
  • ГОСТ Р 55346-2012, страница 128 страница 128
  • ГОСТ Р 55346-2012, страница 129 страница 129
  • ГОСТ Р 55346-2012, страница 130 страница 130
  • ГОСТ Р 55346-2012, страница 131 страница 131
  • ГОСТ Р 55346-2012, страница 132 страница 132
  • ГОСТ Р 55346-2012, страница 133 страница 133
  • ГОСТ Р 55346-2012, страница 134 страница 134
  • ГОСТ Р 55346-2012, страница 135 страница 135
  • ГОСТ Р 55346-2012, страница 136 страница 136
  • ГОСТ Р 55346-2012, страница 137 страница 137
  • ГОСТ Р 55346-2012, страница 138 страница 138
  • ГОСТ Р 55346-2012, страница 139 страница 139
  • ГОСТ Р 55346-2012, страница 140 страница 140
  • ГОСТ Р 55346-2012, страница 141 страница 141
  • ГОСТ Р 55346-2012, страница 142 страница 142
  • ГОСТ Р 55346-2012, страница 143 страница 143
  • ГОСТ Р 55346-2012, страница 144 страница 144
  • ГОСТ Р 55346-2012, страница 145 страница 145
  • ГОСТ Р 55346-2012, страница 146 страница 146
  • ГОСТ Р 55346-2012, страница 147 страница 147
  • ГОСТ Р 55346-2012, страница 148 страница 148
  • ГОСТ Р 55346-2012, страница 149 страница 149
  • ГОСТ Р 55346-2012, страница 150 страница 150
  • ГОСТ Р 55346-2012, страница 151 страница 151
  • ГОСТ Р 55346-2012, страница 152 страница 152
  • ГОСТ Р 55346-2012, страница 153 страница 153
  • ГОСТ Р 55346-2012, страница 154 страница 154
  • ГОСТ Р 55346-2012, страница 155 страница 155
  • ГОСТ Р 55346-2012, страница 156 страница 156
  • ГОСТ Р 55346-2012, страница 157 страница 157
  • ГОСТ Р 55346-2012, страница 158 страница 158
  • ГОСТ Р 55346-2012, страница 159 страница 159
  • ГОСТ Р 55346-2012, страница 160 страница 160
  • ГОСТ Р 55346-2012, страница 161 страница 161
  • ГОСТ Р 55346-2012, страница 162 страница 162
  • ГОСТ Р 55346-2012, страница 163 страница 163
  • ГОСТ Р 55346-2012, страница 164 страница 164
  • ГОСТ Р 55346-2012, страница 165 страница 165
  • ГОСТ Р 55346-2012, страница 166 страница 166
  • ГОСТ Р 55346-2012, страница 167 страница 167
  • ГОСТ Р 55346-2012, страница 168 страница 168
  • ГОСТ Р 55346-2012, страница 169 страница 169
  • ГОСТ Р 55346-2012, страница 170 страница 170
  • ГОСТ Р 55346-2012, страница 171 страница 171
  • ГОСТ Р 55346-2012, страница 172 страница 172
  • ГОСТ Р 55346-2012, страница 173 страница 173
  • ГОСТ Р 55346-2012, страница 174 страница 174
  • ГОСТ Р 55346-2012, страница 175 страница 175
  • ГОСТ Р 55346-2012, страница 176 страница 176
  • ГОСТ Р 55346-2012, страница 177 страница 177
  • ГОСТ Р 55346-2012, страница 178 страница 178
  • ГОСТ Р 55346-2012, страница 179 страница 179
  • ГОСТ Р 55346-2012, страница 180 страница 180
  • ГОСТ Р 55346-2012, страница 181 страница 181
  • ГОСТ Р 55346-2012, страница 182 страница 182
  • ГОСТ Р 55346-2012, страница 183 страница 183
  • ГОСТ Р 55346-2012, страница 184 страница 184
  • ГОСТ Р 55346-2012, страница 185 страница 185
  • ГОСТ Р 55346-2012, страница 186 страница 186
  • ГОСТ Р 55346-2012, страница 187 страница 187
  • ГОСТ Р 55346-2012, страница 188 страница 188
  • ГОСТ Р 55346-2012, страница 189 страница 189
  • ГОСТ Р 55346-2012, страница 190 страница 190
  • ГОСТ Р 55346-2012, страница 191 страница 191
  • ГОСТ Р 55346-2012, страница 192 страница 192
  • ГОСТ Р 55346-2012, страница 193 страница 193
  • ГОСТ Р 55346-2012, страница 194 страница 194
  • ГОСТ Р 55346-2012, страница 195 страница 195
  • ГОСТ Р 55346-2012, страница 196 страница 196
  • ГОСТ Р 55346-2012, страница 197 страница 197
  • ГОСТ Р 55346-2012, страница 198 страница 198
  • ГОСТ Р 55346-2012, страница 199 страница 199
  • ГОСТ Р 55346-2012, страница 200 страница 200
  • ГОСТ Р 55346-2012, страница 201 страница 201
  • ГОСТ Р 55346-2012, страница 202 страница 202
  • ГОСТ Р 55346-2012, страница 203 страница 203
  • ГОСТ Р 55346-2012, страница 204 страница 204
  • ГОСТ Р 55346-2012, страница 205 страница 205
  • ГОСТ Р 55346-2012, страница 206 страница 206
  • ГОСТ Р 55346-2012, страница 207 страница 207
  • ГОСТ Р 55346-2012, страница 208 страница 208
  • ГОСТ Р 55346-2012, страница 209 страница 209
  • ГОСТ Р 55346-2012, страница 210 страница 210
  • ГОСТ Р 55346-2012, страница 211 страница 211
  • ГОСТ Р 55346-2012, страница 212 страница 212
  • ГОСТ Р 55346-2012, страница 213 страница 213
  • ГОСТ Р 55346-2012, страница 214 страница 214
  • ГОСТ Р 55346-2012, страница 215 страница 215
  • ГОСТ Р 55346-2012, страница 216 страница 216
  • ГОСТ Р 55346-2012, страница 217 страница 217
  • ГОСТ Р 55346-2012, страница 218 страница 218
  • ГОСТ Р 55346-2012, страница 219 страница 219
  • ГОСТ Р 55346-2012, страница 220 страница 220
  • ГОСТ Р 55346-2012, страница 221 страница 221
  • ГОСТ Р 55346-2012, страница 222 страница 222
  • ГОСТ Р 55346-2012, страница 223 страница 223
  • ГОСТ Р 55346-2012, страница 224 страница 224
  • ГОСТ Р 55346-2012, страница 225 страница 225
  • ГОСТ Р 55346-2012, страница 226 страница 226
  • ГОСТ Р 55346-2012, страница 227 страница 227
  • ГОСТ Р 55346-2012, страница 228 страница 228
  • ГОСТ Р 55346-2012, страница 229 страница 229
  • ГОСТ Р 55346-2012, страница 230 страница 230
  • ГОСТ Р 55346-2012, страница 231 страница 231
  • ГОСТ Р 55346-2012, страница 232 страница 232
  • ГОСТ Р 55346-2012, страница 233 страница 233
  • ГОСТ Р 55346-2012, страница 234 страница 234
  • ГОСТ Р 55346-2012, страница 235 страница 235
  • ГОСТ Р 55346-2012, страница 236 страница 236
  • ГОСТ Р 55346-2012, страница 237 страница 237
  • ГОСТ Р 55346-2012, страница 238 страница 238
  • ГОСТ Р 55346-2012, страница 239 страница 239
  • ГОСТ Р 55346-2012, страница 240 страница 240
  • ГОСТ Р 55346-2012, страница 241 страница 241
  • ГОСТ Р 55346-2012, страница 242 страница 242
  • ГОСТ Р 55346-2012, страница 243 страница 243
  • ГОСТ Р 55346-2012, страница 244 страница 244
  • ГОСТ Р 55346-2012, страница 245 страница 245
  • ГОСТ Р 55346-2012, страница 246 страница 246
  • ГОСТ Р 55346-2012, страница 247 страница 247
  • ГОСТ Р 55346-2012, страница 248 страница 248
  • ГОСТ Р 55346-2012, страница 249 страница 249
  • ГОСТ Р 55346-2012, страница 250 страница 250
  • ГОСТ Р 55346-2012, страница 251 страница 251
  • ГОСТ Р 55346-2012, страница 252 страница 252
  • ГОСТ Р 55346-2012, страница 253 страница 253
  • ГОСТ Р 55346-2012, страница 254 страница 254
  • ГОСТ Р 55346-2012, страница 255 страница 255
  • ГОСТ Р 55346-2012, страница 256 страница 256
  • ГОСТ Р 55346-2012, страница 257 страница 257
  • ГОСТ Р 55346-2012, страница 258 страница 258
  • ГОСТ Р 55346-2012, страница 259 страница 259
  • ГОСТ Р 55346-2012, страница 260 страница 260
  • ГОСТ Р 55346-2012, страница 261 страница 261
  • ГОСТ Р 55346-2012, страница 262 страница 262
  • ГОСТ Р 55346-2012, страница 263 страница 263
  • ГОСТ Р 55346-2012, страница 264 страница 264
  • ГОСТ Р 55346-2012, страница 265 страница 265
  • ГОСТ Р 55346-2012, страница 266 страница 266
  • ГОСТ Р 55346-2012, страница 267 страница 267
  • ГОСТ Р 55346-2012, страница 268 страница 268
  • ГОСТ Р 55346-2012, страница 269 страница 269
  • ГОСТ Р 55346-2012, страница 270 страница 270
  • ГОСТ Р 55346-2012, страница 271 страница 271
  • ГОСТ Р 55346-2012, страница 272 страница 272
  • ГОСТ Р 55346-2012, страница 273 страница 273
  • ГОСТ Р 55346-2012, страница 274 страница 274
  • ГОСТ Р 55346-2012, страница 275 страница 275
  • ГОСТ Р 55346-2012, страница 276 страница 276
  • ГОСТ Р 55346-2012, страница 277 страница 277
  • ГОСТ Р 55346-2012, страница 278 страница 278
  • ГОСТ Р 55346-2012, страница 279 страница 279
  • ГОСТ Р 55346-2012, страница 280 страница 280
  • ГОСТ Р 55346-2012, страница 281 страница 281
  • ГОСТ Р 55346-2012, страница 282 страница 282
  • ГОСТ Р 55346-2012, страница 283 страница 283
  • ГОСТ Р 55346-2012, страница 284 страница 284
  • ГОСТ Р 55346-2012, страница 285 страница 285
  • ГОСТ Р 55346-2012, страница 286 страница 286
  • ГОСТ Р 55346-2012, страница 287 страница 287
  • ГОСТ Р 55346-2012, страница 288 страница 288
  • ГОСТ Р 55346-2012, страница 289 страница 289
  • ГОСТ Р 55346-2012, страница 290 страница 290
  • ГОСТ Р 55346-2012, страница 291 страница 291
  • ГОСТ Р 55346-2012, страница 292 страница 292
  • ГОСТ Р 55346-2012, страница 293 страница 293
  • ГОСТ Р 55346-2012, страница 294 страница 294
  • ГОСТ Р 55346-2012, страница 295 страница 295
  • ГОСТ Р 55346-2012, страница 296 страница 296
  • ГОСТ Р 55346-2012, страница 297 страница 297
  • ГОСТ Р 55346-2012, страница 298 страница 298
  • ГОСТ Р 55346-2012, страница 299 страница 299
  • ГОСТ Р 55346-2012, страница 300 страница 300
  • ГОСТ Р 55346-2012, страница 301 страница 301
  • ГОСТ Р 55346-2012, страница 302 страница 302
  • ГОСТ Р 55346-2012, страница 303 страница 303
  • ГОСТ Р 55346-2012, страница 304 страница 304
  • ГОСТ Р 55346-2012, страница 305 страница 305
  • ГОСТ Р 55346-2012, страница 306 страница 306
  • ГОСТ Р 55346-2012, страница 307 страница 307
  • ГОСТ Р 55346-2012, страница 308 страница 308
  • ГОСТ Р 55346-2012, страница 309 страница 309
  • ГОСТ Р 55346-2012, страница 310 страница 310
  • ГОСТ Р 55346-2012, страница 311 страница 311
  • ГОСТ Р 55346-2012, страница 312 страница 312
  • ГОСТ Р 55346-2012, страница 313 страница 313
  • ГОСТ Р 55346-2012, страница 314 страница 314
  • ГОСТ Р 55346-2012, страница 315 страница 315
  • ГОСТ Р 55346-2012, страница 316 страница 316
  • ГОСТ Р 55346-2012, страница 317 страница 317
  • ГОСТ Р 55346-2012, страница 318 страница 318
  • ГОСТ Р 55346-2012, страница 319 страница 319
  • ГОСТ Р 55346-2012, страница 320 страница 320
  • ГОСТ Р 55346-2012, страница 321 страница 321
  • ГОСТ Р 55346-2012, страница 322 страница 322
  • ГОСТ Р 55346-2012, страница 323 страница 323
  • ГОСТ Р 55346-2012, страница 324 страница 324
  • ГОСТ Р 55346-2012, страница 325 страница 325
  • ГОСТ Р 55346-2012, страница 326 страница 326
  • ГОСТ Р 55346-2012, страница 327 страница 327
  • ГОСТ Р 55346-2012, страница 328 страница 328
  • ГОСТ Р 55346-2012, страница 329 страница 329
  • ГОСТ Р 55346-2012, страница 330 страница 330
  • ГОСТ Р 55346-2012, страница 331 страница 331
  • ГОСТ Р 55346-2012, страница 332 страница 332
  • ГОСТ Р 55346-2012, страница 333 страница 333
  • ГОСТ Р 55346-2012, страница 334 страница 334
  • ГОСТ Р 55346-2012, страница 335 страница 335
  • ГОСТ Р 55346-2012, страница 336 страница 336
  • ГОСТ Р 55346-2012, страница 337 страница 337
  • ГОСТ Р 55346-2012, страница 338 страница 338
  • ГОСТ Р 55346-2012, страница 339 страница 339
  • ГОСТ Р 55346-2012, страница 340 страница 340
  • ГОСТ Р 55346-2012, страница 341 страница 341
  • ГОСТ Р 55346-2012, страница 342 страница 342
  • ГОСТ Р 55346-2012, страница 343 страница 343
  • ГОСТ Р 55346-2012, страница 344 страница 344
  • ГОСТ Р 55346-2012, страница 345 страница 345
  • ГОСТ Р 55346-2012, страница 346 страница 346
  • ГОСТ Р 55346-2012, страница 347 страница 347
  • ГОСТ Р 55346-2012, страница 348 страница 348
  • ГОСТ Р 55346-2012, страница 349 страница 349
  • ГОСТ Р 55346-2012, страница 350 страница 350
  • ГОСТ Р 55346-2012, страница 351 страница 351
  • ГОСТ Р 55346-2012, страница 352 страница 352
  • ГОСТ Р 55346-2012, страница 353 страница 353
  • ГОСТ Р 55346-2012, страница 354 страница 354
  • ГОСТ Р 55346-2012, страница 355 страница 355
  • ГОСТ Р 55346-2012, страница 356 страница 356
  • ГОСТ Р 55346-2012, страница 357 страница 357
  • ГОСТ Р 55346-2012, страница 358 страница 358
  • ГОСТ Р 55346-2012, страница 359 страница 359
  • ГОСТ Р 55346-2012, страница 360 страница 360
  • ГОСТ Р 55346-2012, страница 361 страница 361
  • ГОСТ Р 55346-2012, страница 362 страница 362
  • ГОСТ Р 55346-2012, страница 363 страница 363
  • ГОСТ Р 55346-2012, страница 364 страница 364
  • ГОСТ Р 55346-2012, страница 365 страница 365
  • ГОСТ Р 55346-2012, страница 366 страница 366
  • ГОСТ Р 55346-2012, страница 367 страница 367
  • ГОСТ Р 55346-2012, страница 368 страница 368
  • ГОСТ Р 55346-2012, страница 369 страница 369
  • ГОСТ Р 55346-2012, страница 370 страница 370
  • ГОСТ Р 55346-2012, страница 371 страница 371
  • ГОСТ Р 55346-2012, страница 372 страница 372
  • ГОСТ Р 55346-2012, страница 373 страница 373
  • ГОСТ Р 55346-2012, страница 374 страница 374
  • ГОСТ Р 55346-2012, страница 375 страница 375
  • ГОСТ Р 55346-2012, страница 376 страница 376
  • ГОСТ Р 55346-2012, страница 377 страница 377
  • ГОСТ Р 55346-2012, страница 378 страница 378
  • ГОСТ Р 55346-2012, страница 379 страница 379
  • ГОСТ Р 55346-2012, страница 380 страница 380
  • ГОСТ Р 55346-2012, страница 381 страница 381
  • ГОСТ Р 55346-2012, страница 382 страница 382
  • ГОСТ Р 55346-2012, страница 383 страница 383
  • ГОСТ Р 55346-2012, страница 384 страница 384
  • ГОСТ Р 55346-2012, страница 385 страница 385
  • ГОСТ Р 55346-2012, страница 386 страница 386
  • ГОСТ Р 55346-2012, страница 387 страница 387
  • ГОСТ Р 55346-2012, страница 388 страница 388
  • ГОСТ Р 55346-2012, страница 389 страница 389
  • ГОСТ Р 55346-2012, страница 390 страница 390
  • ГОСТ Р 55346-2012, страница 391 страница 391
  • ГОСТ Р 55346-2012, страница 392 страница 392
  • ГОСТ Р 55346-2012, страница 393 страница 393
  • ГОСТ Р 55346-2012, страница 394 страница 394
  • ГОСТ Р 55346-2012, страница 395 страница 395
  • ГОСТ Р 55346-2012, страница 396 страница 396
  • ГОСТ Р 55346-2012, страница 397 страница 397
  • ГОСТ Р 55346-2012, страница 398 страница 398
  • ГОСТ Р 55346-2012, страница 399 страница 399
  • ГОСТ Р 55346-2012, страница 400 страница 400
  • ГОСТ Р 55346-2012, страница 401 страница 401
  • ГОСТ Р 55346-2012, страница 402 страница 402