ГОСТ Р 58321-2025 Электроустановки систем тягового железнодорожного электроснабжения переменного тока. Требования к заземлению

Категории ГОСТ Р 58321-2025 по ОКС:
Статус документа:
принят, введён в действие 01.01.2026
Название на английском языке:
Electrical installations of traction power supply systems for alternating current railway. Earthing requirements
Дата актуализации информации по стандарту:
16.12.2025, в 10:06 (менее 3 месяцев назад)
Вид стандарта:
временно не известен
Дата начала действия ГОСТа:
2026-01-01
Число страниц:
58
Назначение ГОСТ Р 58321-2025:
не указано

Скачать ГОСТ Р 58321-2025 вы можете в следующих версиях:

Тип файла:
Дата добавления:
Загрузок:
Размер:
Тип файла:
PDF с изображениями
Добавлен:
16/12/2025 16:07
Скачиваний:
16
Размер файла:
15.92 Мб
  • ГОСТ Р 58321-2025, страница 1 страница 1
  • ГОСТ Р 58321-2025, страница 2 страница 2
  • ГОСТ Р 58321-2025, страница 3 страница 3
  • ГОСТ Р 58321-2025, страница 4 страница 4
  • ГОСТ Р 58321-2025, страница 5 страница 5
  • ГОСТ Р 58321-2025, страница 6 страница 6
  • ГОСТ Р 58321-2025, страница 7 страница 7
  • ГОСТ Р 58321-2025, страница 8 страница 8
  • ГОСТ Р 58321-2025, страница 9 страница 9
  • ГОСТ Р 58321-2025, страница 10 страница 10
  • ГОСТ Р 58321-2025, страница 11 страница 11
  • ГОСТ Р 58321-2025, страница 12 страница 12
  • ГОСТ Р 58321-2025, страница 13 страница 13
  • ГОСТ Р 58321-2025, страница 14 страница 14
  • ГОСТ Р 58321-2025, страница 15 страница 15
  • ГОСТ Р 58321-2025, страница 16 страница 16
  • ГОСТ Р 58321-2025, страница 17 страница 17
  • ГОСТ Р 58321-2025, страница 18 страница 18
  • ГОСТ Р 58321-2025, страница 19 страница 19
  • ГОСТ Р 58321-2025, страница 20 страница 20
  • ГОСТ Р 58321-2025, страница 21 страница 21
  • ГОСТ Р 58321-2025, страница 22 страница 22
  • ГОСТ Р 58321-2025, страница 23 страница 23
  • ГОСТ Р 58321-2025, страница 24 страница 24
  • ГОСТ Р 58321-2025, страница 25 страница 25
  • ГОСТ Р 58321-2025, страница 26 страница 26
  • ГОСТ Р 58321-2025, страница 27 страница 27
  • ГОСТ Р 58321-2025, страница 28 страница 28
  • ГОСТ Р 58321-2025, страница 29 страница 29
  • ГОСТ Р 58321-2025, страница 30 страница 30
  • ГОСТ Р 58321-2025, страница 31 страница 31
  • ГОСТ Р 58321-2025, страница 32 страница 32
  • ГОСТ Р 58321-2025, страница 33 страница 33
  • ГОСТ Р 58321-2025, страница 34 страница 34
  • ГОСТ Р 58321-2025, страница 35 страница 35
  • ГОСТ Р 58321-2025, страница 36 страница 36
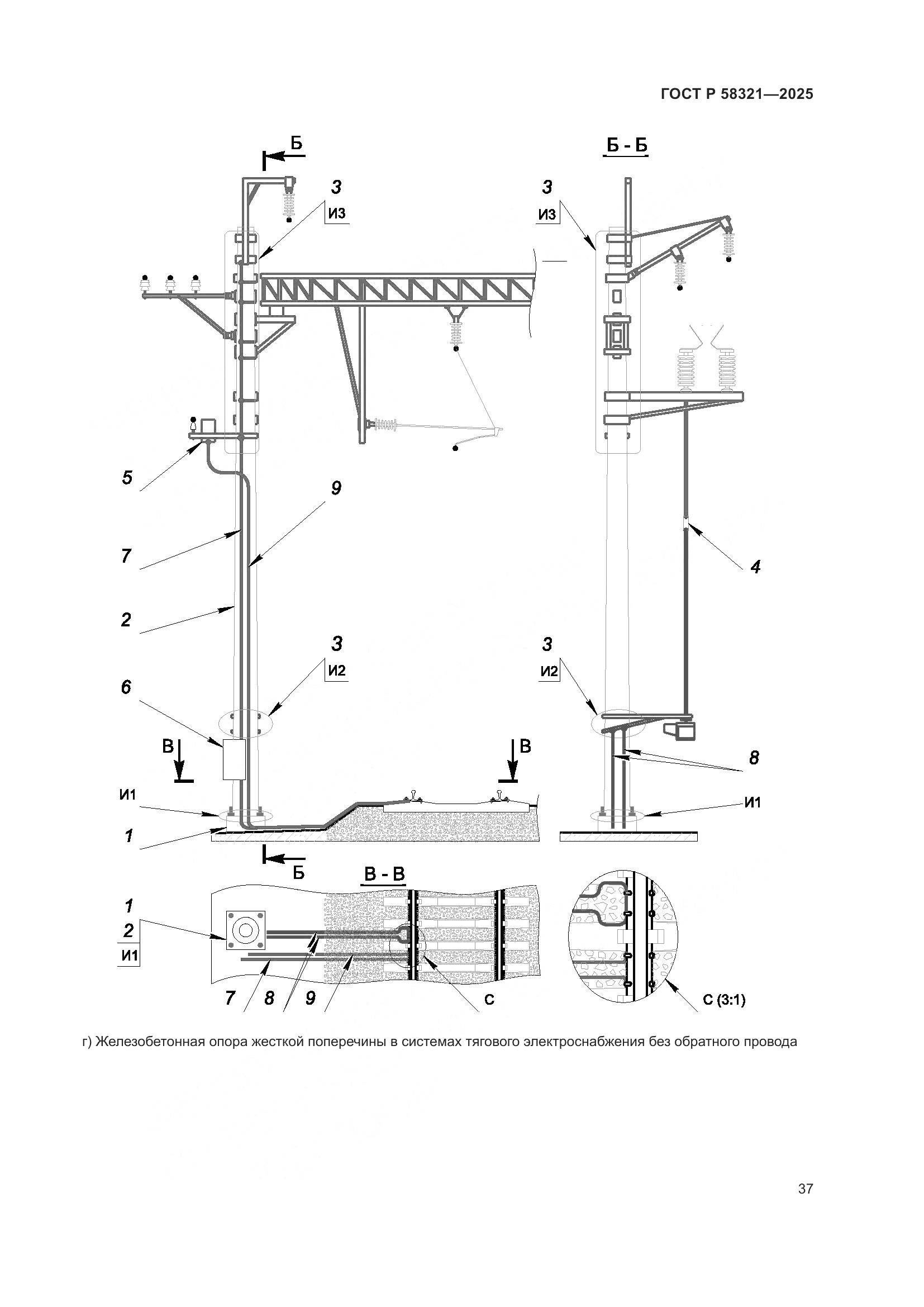
  • ГОСТ Р 58321-2025, страница 37 страница 37
  • ГОСТ Р 58321-2025, страница 38 страница 38
  • ГОСТ Р 58321-2025, страница 39 страница 39
  • ГОСТ Р 58321-2025, страница 40 страница 40
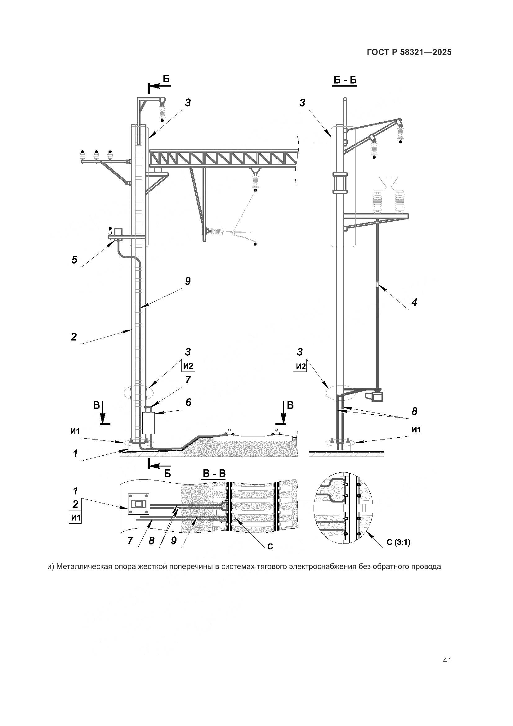
  • ГОСТ Р 58321-2025, страница 41 страница 41
  • ГОСТ Р 58321-2025, страница 42 страница 42
  • ГОСТ Р 58321-2025, страница 43 страница 43
  • ГОСТ Р 58321-2025, страница 44 страница 44
  • ГОСТ Р 58321-2025, страница 45 страница 45
  • ГОСТ Р 58321-2025, страница 46 страница 46
  • ГОСТ Р 58321-2025, страница 47 страница 47
  • ГОСТ Р 58321-2025, страница 48 страница 48
  • ГОСТ Р 58321-2025, страница 49 страница 49
  • ГОСТ Р 58321-2025, страница 50 страница 50
  • ГОСТ Р 58321-2025, страница 51 страница 51
  • ГОСТ Р 58321-2025, страница 52 страница 52
  • ГОСТ Р 58321-2025, страница 53 страница 53
  • ГОСТ Р 58321-2025, страница 54 страница 54
  • ГОСТ Р 58321-2025, страница 55 страница 55
  • ГОСТ Р 58321-2025, страница 56 страница 56
  • ГОСТ Р 58321-2025, страница 57 страница 57
  • ГОСТ Р 58321-2025, страница 58 страница 58