ГОСТ 7275-75 Ключи гаечные разводные. Технические условия

Категории ГОСТ 7275-75 по ОКС:
Статус документа:
утратил силу в рф, введён в действие 01.01.1978
Название на английском языке:
Adjustable wrenches. Specifications
Дата актуализации информации по стандарту:
30.07.2025, в 11:09 (менее полугода назад)
Вид стандарта:
Стандарты на продукцию (услуги)
Дата начала действия ГОСТа:
1978-01-01
Срок действия ограничен:
01.01.2013
Дата последнего издания документа:
2001-10-01
Коды документа ГОСТ 7275-75:
Код ОКП:
392651
Код КГС:
Г24
Число страниц:
11
Назначение ГОСТ 7275-75:
Настоящий стандарт распространяется на разводные ключи, изготовляемые для нужд народного хозяйства и экспорта
ГРНТИ индекс(ы):
553133
Документ разработан орг-ей:
Министерство станкостроительной и инструментальной промышленности
Нормативные ссылки, связанные с ГОСТ 7275-75:

Скачать ГОСТ 7275-75 вы можете в следующих версиях:

Дата добавления:
Тип файла:
Загрузок:
Размер:
12/12/2011 01:57
PDF с изображениями
444
0.46 Мб

Поправки и изменения к ГОСТ 7275-75:

  • Наименование, вид:
    Дата
    регистрации:
    начала действия:
  • Изменение к ГОСТ 7275-75. Утратил силу в РФ

    Тип изменения: Утратил силу в РФ
    Номер изменения:
    Регистрационный номер: 531-ст
    Новое значение: Утратил силу на территории РФ, с 01.01.2013 пользоваться ГОСТ Р 54488-2011

    2011-11-09
    2013-01-01
  • Изменение №1 к ГОСТ 7275-75

    Тип изменения: Текстовое изменение; Изменено заглавие
    Номер изменения: 1
    Регистрационный номер: 927
    Новое значение: Cм. зaглaвиe

    1987-03-25
    1987-09-01
  • Изменение №2 к ГОСТ 7275-75

    Тип изменения: Текстовое изменение
    Номер изменения: 2
    Регистрационный номер: 713
    Новое значение: -

    1989-03-27
    1989-10-01

Текст стандарта

  • ГОСТ 7275-75, страница 1 страница 1
  • ГОСТ 7275-75, страница 2 страница 2
  • ГОСТ 7275-75, страница 3 страница 3
  • ГОСТ 7275-75, страница 4 страница 4
  • ГОСТ 7275-75, страница 5 страница 5
  • ГОСТ 7275-75, страница 6 страница 6
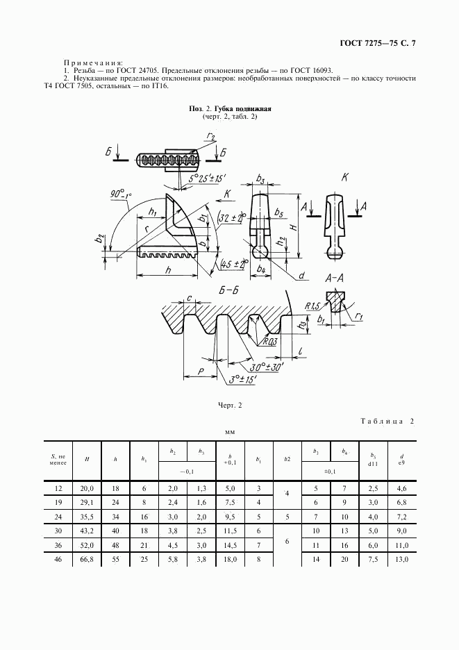
  • ГОСТ 7275-75, страница 7 страница 7
  • ГОСТ 7275-75, страница 8 страница 8
  • ГОСТ 7275-75, страница 9 страница 9
  • ГОСТ 7275-75, страница 10 страница 10
  • ГОСТ 7275-75, страница 11 страница 11