ПНСТ 758-2022 Умное производство. Интероперабельность единиц возможностей для промышленных прикладных решений. Часть 4. Определение единиц возможностей

Категории ПНСТ 758-2022 по ОКС:
Статус документа:
действует, введён в действие 01.01.2023
Название на английском языке:
Smart manufacturing. Interoperability of capability units for manufacturing application solutions. Part 4. Capability unit determination
Дата актуализации информации по стандарту:
13.08.2025, в 11:54 (менее 3 месяцев назад)
Вид стандарта:
временно не известен
Дата начала действия ГОСТа:
2023-01-01
Число страниц:
24
Назначение ПНСТ 758-2022:
не указано
Нормативные ссылки, связанные с ПНСТ 758-2022:

Скачать ПНСТ 758-2022 вы можете в следующих версиях:

В данный момент версий документа для скачивания не добавлено.

Мы стараемся пополнять базу документов еженедельно и из разных источников, в обозримом будущем версии для этого ГОСТа появятся.

Вы можете просмотреть online текст стандарта ПНСТ 758-2022

Просмотреть текст ПНСТ 758-2022

Текст стандарта

  • ПНСТ 758-2022, страница 1 страница 1
  • ПНСТ 758-2022, страница 2 страница 2
  • ПНСТ 758-2022, страница 3 страница 3
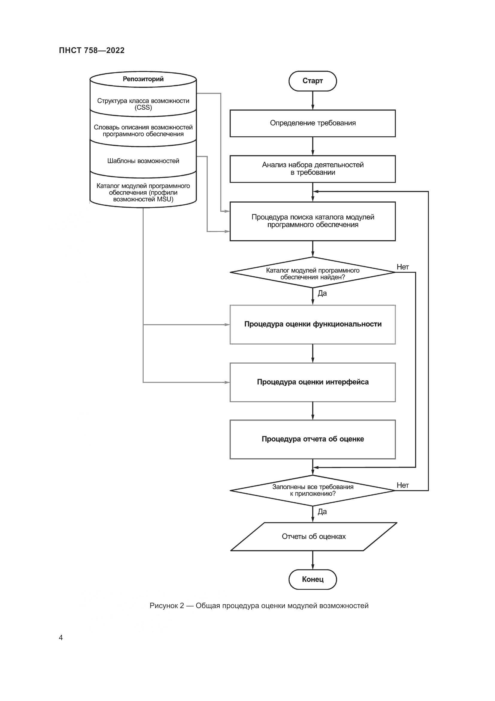
  • ПНСТ 758-2022, страница 4 страница 4
  • ПНСТ 758-2022, страница 5 страница 5
  • ПНСТ 758-2022, страница 6 страница 6
  • ПНСТ 758-2022, страница 7 страница 7
  • ПНСТ 758-2022, страница 8 страница 8
  • ПНСТ 758-2022, страница 9 страница 9
  • ПНСТ 758-2022, страница 10 страница 10
  • ПНСТ 758-2022, страница 11 страница 11
  • ПНСТ 758-2022, страница 12 страница 12
  • ПНСТ 758-2022, страница 13 страница 13
  • ПНСТ 758-2022, страница 14 страница 14
  • ПНСТ 758-2022, страница 15 страница 15
  • ПНСТ 758-2022, страница 16 страница 16
  • ПНСТ 758-2022, страница 17 страница 17
  • ПНСТ 758-2022, страница 18 страница 18
  • ПНСТ 758-2022, страница 19 страница 19
  • ПНСТ 758-2022, страница 20 страница 20
  • ПНСТ 758-2022, страница 21 страница 21
  • ПНСТ 758-2022, страница 22 страница 22
  • ПНСТ 758-2022, страница 23 страница 23
  • ПНСТ 758-2022, страница 24 страница 24