ГОСТ 7872-2025 Подшипники качения. Подшипники шариковые упорные одинарные и двойные. Классификация, указания по применению и эксплуатации

Категории ГОСТ 7872-2025 по ОКС:
Статус документа:
действует, введён в действие 01.05.2025
Название на английском языке:
Rolling bearings. Single and double direction thrust ball bearings. Classification, guidance for application and exploitation
Дата актуализации информации по стандарту:
16.10.2025, в 15:49 (менее месяца назад)
Вид стандарта:
временно не известен
Дата начала действия ГОСТа:
2025-05-01
Дата последнего издания документа:
2025-03-03
Число страниц:
24
Назначение ГОСТ 7872-2025:
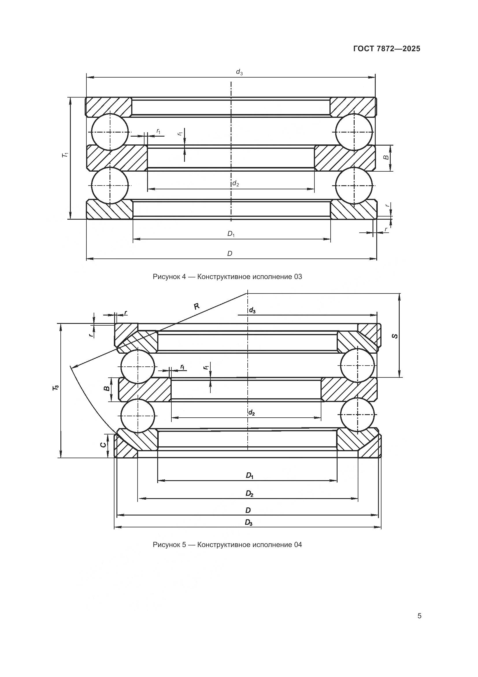
Настоящий стандарт распространяется на шариковые упорные одинарные и двойные подшипники (далее – подшипники), изготовленные по ГОСТ 520, и устанавливает их классификацию по конструктивным исполнениям, присоединительным размерам, указания по применению и эксплуатации
Документ принят орг-ей:
Межгосударственный Совет по стандартизации метрологии и сертификации, протокол №181-П
Ключевые слова документа:
классификация, подшипники качения, присоединительные размеры, указания по применению и эксплуатации, шариковый упорный подшипник

Скачать ГОСТ 7872-2025 вы можете в следующих версиях:

В данный момент версий документа для скачивания не добавлено.

Мы стараемся пополнять базу документов еженедельно и из разных источников, в обозримом будущем версии для этого ГОСТа появятся.

Вы можете просмотреть online текст стандарта ГОСТ 7872-2025

Просмотреть текст ГОСТ 7872-2025

Текст стандарта

  • ГОСТ 7872-2025, страница 1 страница 1
  • ГОСТ 7872-2025, страница 2 страница 2
  • ГОСТ 7872-2025, страница 3 страница 3
  • ГОСТ 7872-2025, страница 4 страница 4
  • ГОСТ 7872-2025, страница 5 страница 5
  • ГОСТ 7872-2025, страница 6 страница 6
  • ГОСТ 7872-2025, страница 7 страница 7
  • ГОСТ 7872-2025, страница 8 страница 8
  • ГОСТ 7872-2025, страница 9 страница 9
  • ГОСТ 7872-2025, страница 10 страница 10
  • ГОСТ 7872-2025, страница 11 страница 11
  • ГОСТ 7872-2025, страница 12 страница 12
  • ГОСТ 7872-2025, страница 13 страница 13
  • ГОСТ 7872-2025, страница 14 страница 14
  • ГОСТ 7872-2025, страница 15 страница 15
  • ГОСТ 7872-2025, страница 16 страница 16
  • ГОСТ 7872-2025, страница 17 страница 17
  • ГОСТ 7872-2025, страница 18 страница 18
  • ГОСТ 7872-2025, страница 19 страница 19
  • ГОСТ 7872-2025, страница 20 страница 20
  • ГОСТ 7872-2025, страница 21 страница 21
  • ГОСТ 7872-2025, страница 22 страница 22
  • ГОСТ 7872-2025, страница 23 страница 23
  • ГОСТ 7872-2025, страница 24 страница 24