ГОСТ 8995-2025 Подшипники качения. Подшипники шариковые радиально-упорные однорядные с полукольцами. Классификация, указания по применению и эксплуатации

Категории ГОСТ 8995-2025 по ОКС:
Статус документа:
действует, введён в действие 01.12.2025
Название на английском языке:
Rolling bearings. Single row angular contact ball bearings with semi-rings. Classification, guidance for application and exploitation
Дата актуализации информации по стандарту:
25.12.2025, в 08:56 (менее месяца назад)
Вид стандарта:
временно не известен
Дата начала действия ГОСТа:
2025-12-01
Дата последнего издания документа:
2025-08-22
Число страниц:
12
Назначение ГОСТ 8995-2025:
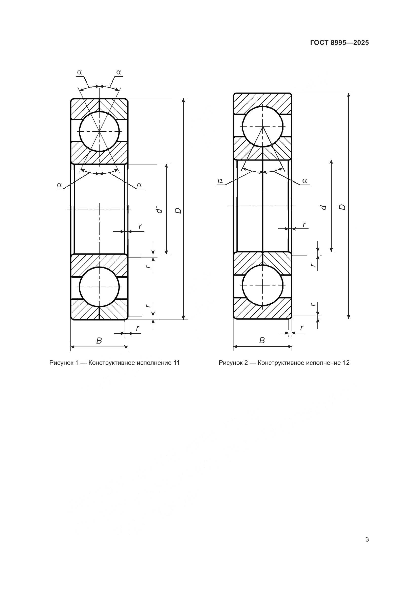
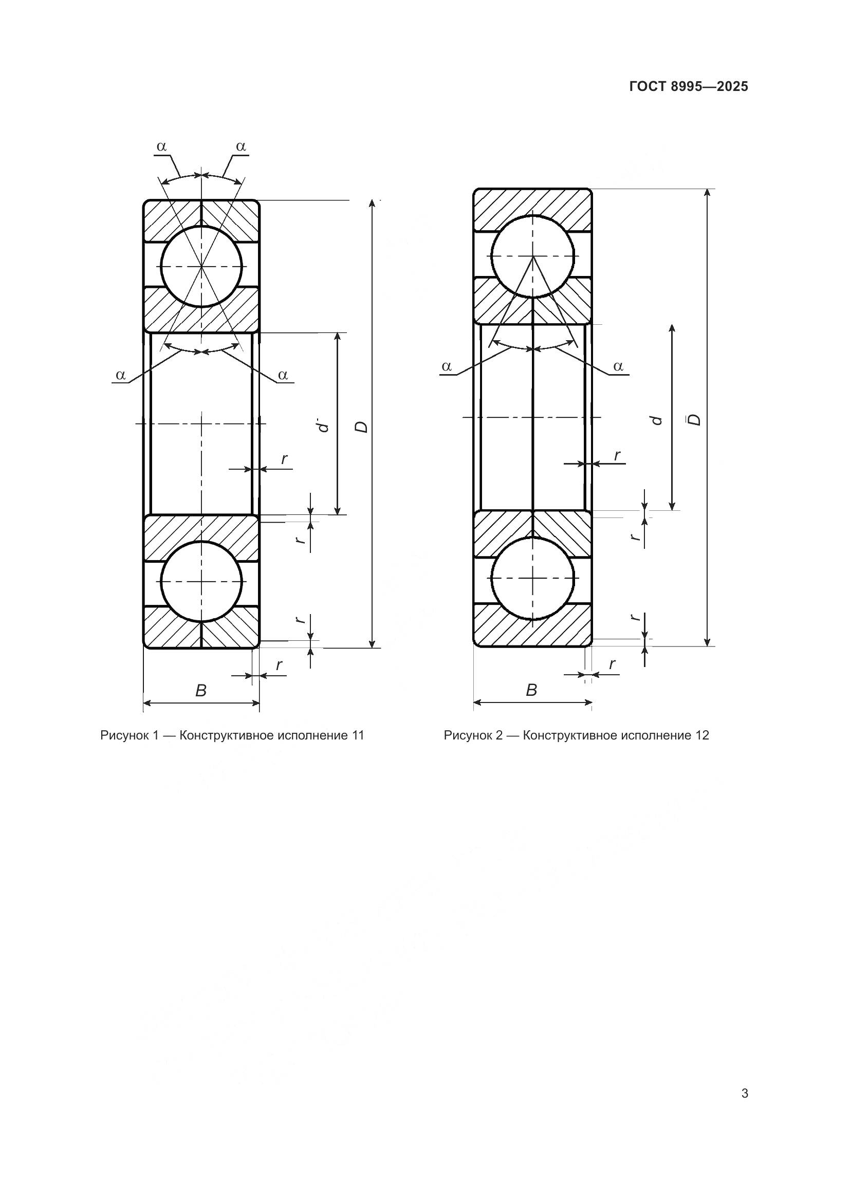
Настоящий стандарт распространяется на шариковые радиально-упорные однорядные подшипники с наружными или внутренними полукольцами, изготавливаемые по ГОСТ 520, и устанавливает их классификацию по конструктивным исполнениям и присоединительным размерам, указания по применению и эксплуатации
Документ принят орг-ей:
Межгосударственный Совет по стандартизации метрологии и сертификации, протокол №187-П
Ключевые слова документа:
классификация, подшипники качения, присоединительные размеры, технические требования, указания по применению и эксплуатации, шариковый радиально-упорный однорядный подшипник с полукольцами

Скачать ГОСТ 8995-2025 вы можете в следующих версиях:

Тип файла:
Дата добавления:
Загрузок:
Размер:
Тип файла:
-
PDF с изображениями
Добавлен:
21/11/2025 10:24
Скачиваний:
14
Размер файла:
-
  • ГОСТ 8995-2025, страница 1 страница 1
  • ГОСТ 8995-2025, страница 2 страница 2
  • ГОСТ 8995-2025, страница 3 страница 3
  • ГОСТ 8995-2025, страница 4 страница 4
  • ГОСТ 8995-2025, страница 5 страница 5
  • ГОСТ 8995-2025, страница 6 страница 6
  • ГОСТ 8995-2025, страница 7 страница 7
  • ГОСТ 8995-2025, страница 8 страница 8
  • ГОСТ 8995-2025, страница 9 страница 9
  • ГОСТ 8995-2025, страница 10 страница 10
  • ГОСТ 8995-2025, страница 11 страница 11
  • ГОСТ 8995-2025, страница 12 страница 12