ГОСТ 28737-2025 Балки фундаментные железобетонные для стен зданий промышленных и сельскохозяйственных предприятий. Технические условия

Категории ГОСТ 28737-2025 по ОКС:
Статус документа:
принят, введён в действие 01.01.2026
Название на английском языке:
Reinforced concrete foundation beams for buildings walls of industrial and agricultural enterprises. Specifications
Дата актуализации информации по стандарту:
16.12.2025, в 09:47 (менее 3 месяцев назад)
Вид стандарта:
временно не известен
Дата начала действия ГОСТа:
2026-01-01
Число страниц:
16
Назначение ГОСТ 28737-2025:
не указано

Скачать ГОСТ 28737-2025 вы можете в следующих версиях:

Тип файла:
Дата добавления:
Загрузок:
Размер:
Тип файла:
PDF с изображениями
Добавлен:
16/12/2025 16:08
Скачиваний:
30
Размер файла:
4 Мб
  • ГОСТ 28737-2025, страница 1 страница 1
  • ГОСТ 28737-2025, страница 2 страница 2
  • ГОСТ 28737-2025, страница 3 страница 3
  • ГОСТ 28737-2025, страница 4 страница 4
  • ГОСТ 28737-2025, страница 5 страница 5
  • ГОСТ 28737-2025, страница 6 страница 6
  • ГОСТ 28737-2025, страница 7 страница 7
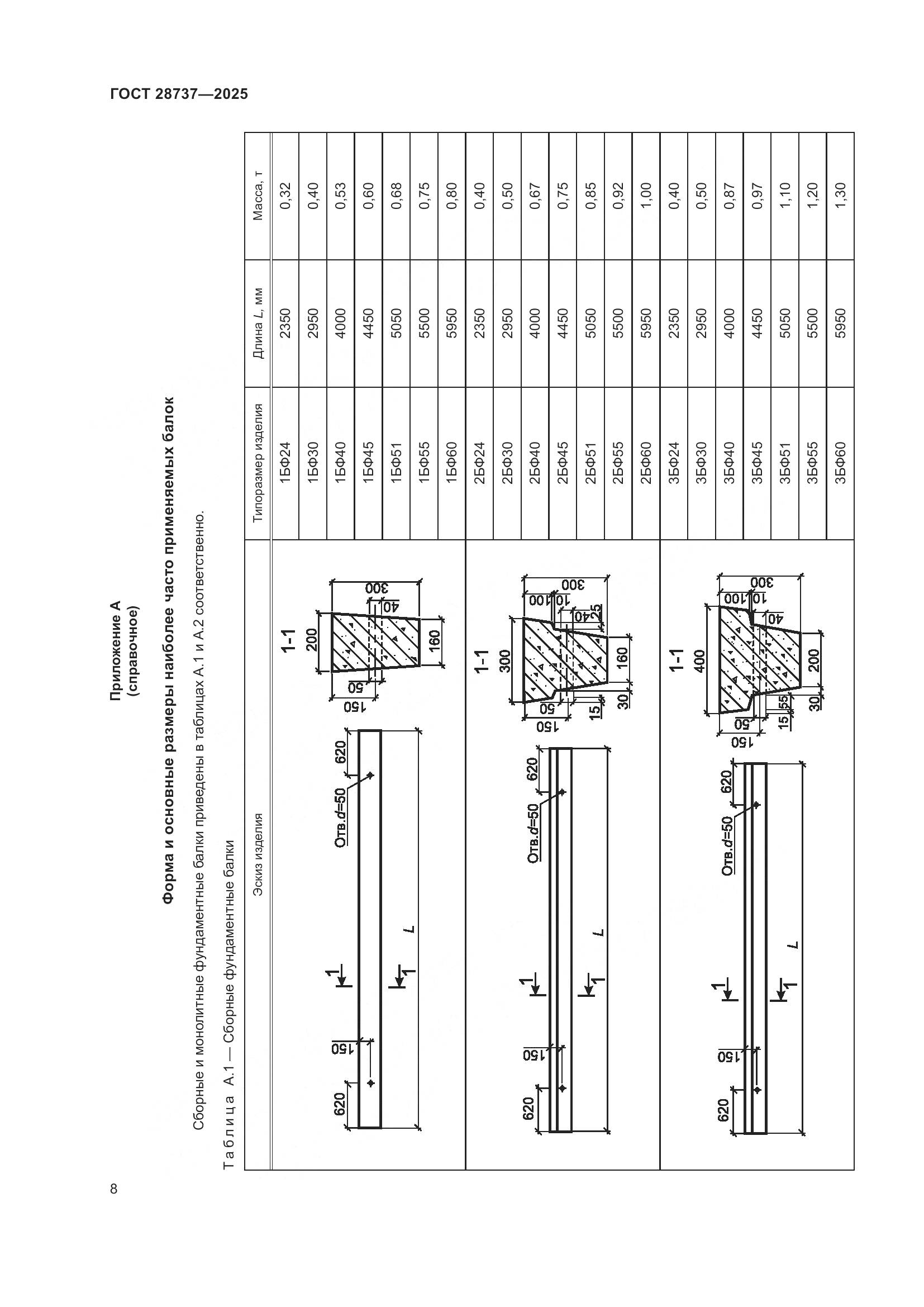
  • ГОСТ 28737-2025, страница 8 страница 8
  • ГОСТ 28737-2025, страница 9 страница 9
  • ГОСТ 28737-2025, страница 10 страница 10
  • ГОСТ 28737-2025, страница 11 страница 11
  • ГОСТ 28737-2025, страница 12 страница 12
  • ГОСТ 28737-2025, страница 13 страница 13
  • ГОСТ 28737-2025, страница 14 страница 14
  • ГОСТ 28737-2025, страница 15 страница 15
  • ГОСТ 28737-2025, страница 16 страница 16