ГОСТ 32499-2013
ГОСТ 32499-2013 Плиты перекрытий железобетонные многопустотные для зданий пролетом до 9 м стендового формирования. Технические условия
Категории ГОСТ 32499-2013 по ОКС:- 91. Стройматериалы и строительство
- 91.80. Конструкции зданий
- 91.80.40 Бетонные конструкции *включая годность и безопасность изделий из бетона и бетонных структур
- Статус документа:
- действует, введён в действие 01.01.2015
- Название на английском языке:
- Reinforced concrete multihollow slabs for floors in buildings for span to 9 m stand moulding. Specifications
- Дата актуализации информации по стандарту:
- 21.10.2025, в 13:00 (менее 3 месяцев назад)
- Вид стандарта:
- Основополагающие стандарты
- Дата начала действия ГОСТа:
- 2015-01-01
- Дата последнего издания документа:
- 2014-09-01
Коды документа ГОСТ 32499-2013:
- Код КГС:
- Ж33
- Код ОКСТУ:
- 5842
- Число страниц:
- 24
- Назначение ГОСТ 32499-2013:
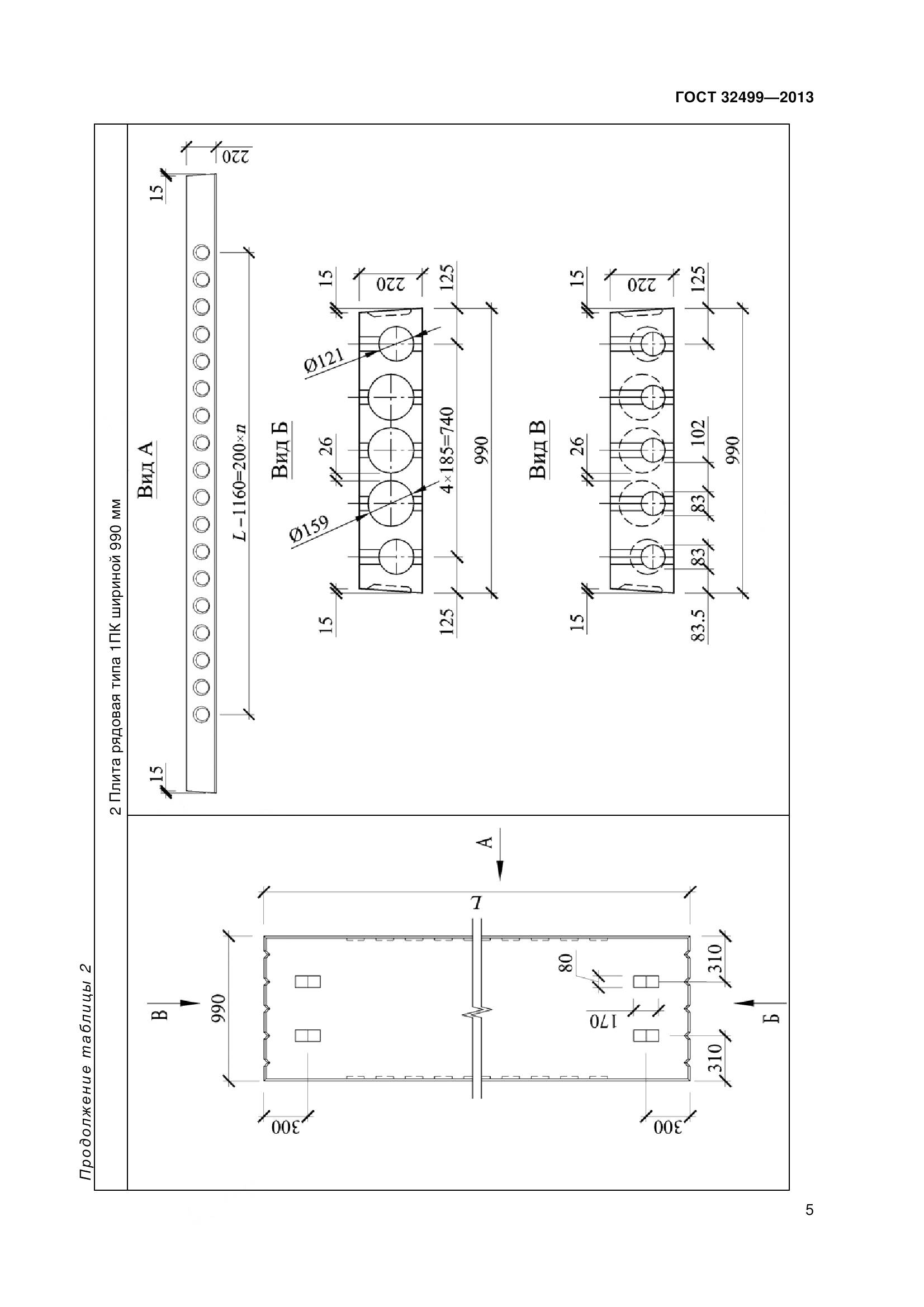
- Настоящий стандарт устанавливает технические требования, методы контроля и правила приемки, транспортирования и хранения железобетонных многопустотных плит межвидового назначения, опирающихся по двум сторонам, высотой 220 мм с основным размером пустот 159 мм из тяжелого или конструкционного легкого бетонов. Плиты применяют в перекрытиях и покрытиях гражданских и промышленных зданий и сооружений пролетом до 9 м
- Документ разработан орг-ей:
- Федеральное агентство по техническому регулированию и метрологии (Росстандарт)
- Документ принят орг-ей:
- Межгосударственный Совет по стандартизации метрологии и сертификации, протокол №44-2013
- Ключевые слова документа:
- маркировка, методы контроля, многопустотная плита, перекрытие, покрытие, стендовое формование, технические условия, транспортирование и хранение
Нормативные ссылки, связанные с ГОСТ 32499-2013:
- Стандарт ссылается на ГОСТы:
- ГОСТ 12730.1-78, ГОСТ 13015-2012, ГОСТ 10180-2012, ГОСТ 18105-2010, ГОСТ 26633-91, ГОСТ 26134-84, ГОСТ 25820-2000, ГОСТ 22904-93, ГОСТ 22690-88, ГОСТ 22362-77, ГОСТ 17625-83, ГОСТ 17624-87, ГОСТ 17623-87, ГОСТ 12730.5-84, ГОСТ 16504-81, ГОСТ 12730.0-78, ГОСТ 10922-90, ГОСТ 10181-2000, ГОСТ 10060.2-95, ГОСТ 10060.1-95, ГОСТ 10060.0-95, ГОСТ 8829-94, ГОСТ 7348-81, ГОСТ 6727-80, ГОСТ 5781-82, ГОСТ 13840-68, ГОСТ 10884-94, ГОСТ 23858-79
- На стандарт ссылаются:
- ГОСТ 28042-2013, ГОСТ 27215-2013, ГОСТ 21506-2013
Скачать ГОСТ 32499-2013 вы можете в следующих версиях:
Тип файла:
Дата добавления:
Загрузок:
Размер:
Ссылка на скачивание:
Добавлен:
21/11/2025 10:11
Скачиваний:
16
Размер файла:
6.24 Мб
Ссылка для скачивания:
-
страница 1
-
страница 2
-
страница 3
-
страница 4
-
страница 5
-
страница 6
-
страница 7
-
страница 8
-
страница 9
-
страница 10
-
страница 11
-
страница 12
-
страница 13
-
страница 14
-
страница 15
-
страница 16
-
страница 17
-
страница 18
-
страница 19
-
страница 20
-
страница 21
-
страница 22
-
страница 23
-
страница 24