ГОСТ Р ИСО 6887-2-2013 Микробиология пищевых продуктов и кормов для животных. Подготовка проб, исходной суспензии и десятикратных разведений. Для микробиологических исследований. Часть 2. Специальные правила подготовки мяса и мясных продуктов

Категории ГОСТ Р ИСО 6887-2-2013 по ОКС:
Статус документа:
действует, введён в действие 01.07.2014
Название на английском языке:
Microbiology of food and animal feeding stuffs. Preparation of test samples, initial suspension and decimal dilutions for microbiological examination. Part 2. Specific rules for the preparation of meat and meat products
Дата актуализации информации по стандарту:
21.10.2025, в 10:45 (менее месяца назад)
Вид стандарта:
временно не известен
Дата начала действия ГОСТа:
2014-07-01
Коды документа ГОСТ Р ИСО 6887-2-2013:
Код КГС:
Н09
Число страниц:
16
Назначение ГОСТ Р ИСО 6887-2-2013:
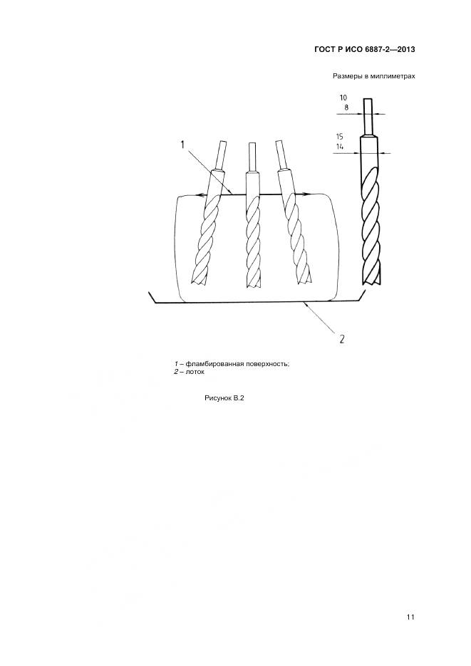
Настоящий стандарт устанавливает специальные правила подготовки мяса и мясных продуктов и их разведений для микробиологических исследований в случаях, когда они отличаются от описанных в ИСО 6887-1. Настоящий стандарт устанавливает правила подготовки проб для одновременного выявления и/или определения количества ряда различных микроорганизмов. Процедура подготовки проб для выявления и/или определения количества конкретных микроорганизмов установлена в соответствующих национальных стандартах
Ключевые слова документа:
корма для животных, лабораторные пробы, микробиология, мясные продукты, мясо, отбор проб от блоков замороженных и глубокой заморозки, пищевые продукты, подготовка проб, специальные правила
Нормативные ссылки, связанные с ГОСТ Р ИСО 6887-2-2013:

Скачать ГОСТ Р ИСО 6887-2-2013 вы можете в следующих версиях:

Дата добавления:
Тип файла:
Загрузок:
Размер:
-
23/01/2016 18:00
PDF с изображениями
0
-

Текст стандарта

  • ГОСТ Р ИСО 6887-2-2013, страница 1 страница 1
  • ГОСТ Р ИСО 6887-2-2013, страница 2 страница 2
  • ГОСТ Р ИСО 6887-2-2013, страница 3 страница 3
  • ГОСТ Р ИСО 6887-2-2013, страница 4 страница 4
  • ГОСТ Р ИСО 6887-2-2013, страница 5 страница 5
  • ГОСТ Р ИСО 6887-2-2013, страница 6 страница 6
  • ГОСТ Р ИСО 6887-2-2013, страница 7 страница 7
  • ГОСТ Р ИСО 6887-2-2013, страница 8 страница 8
  • ГОСТ Р ИСО 6887-2-2013, страница 9 страница 9
  • ГОСТ Р ИСО 6887-2-2013, страница 10 страница 10
  • ГОСТ Р ИСО 6887-2-2013, страница 11 страница 11
  • ГОСТ Р ИСО 6887-2-2013, страница 12 страница 12
  • ГОСТ Р ИСО 6887-2-2013, страница 13 страница 13
  • ГОСТ Р ИСО 6887-2-2013, страница 14 страница 14
  • ГОСТ Р ИСО 6887-2-2013, страница 15 страница 15
  • ГОСТ Р ИСО 6887-2-2013, страница 16 страница 16